Zavřít reklamu

Vypadá to, že Apple svou snahu proniknout do vod rozšířené reality bere opravdu vážně. Svědčí o tom mimo jiné trojice nově zveřejněných patentů, které dokazují, že cupertinský gigant usilovně pracuje na příslušné technice. Kromě patentů, popisujících nový systém pro přehrávání audia a umisťování digitálních objektů na projekci z reálného světa se ale objevil také dokument, popisující chytrý prsten s funkcí detekce pohybu.

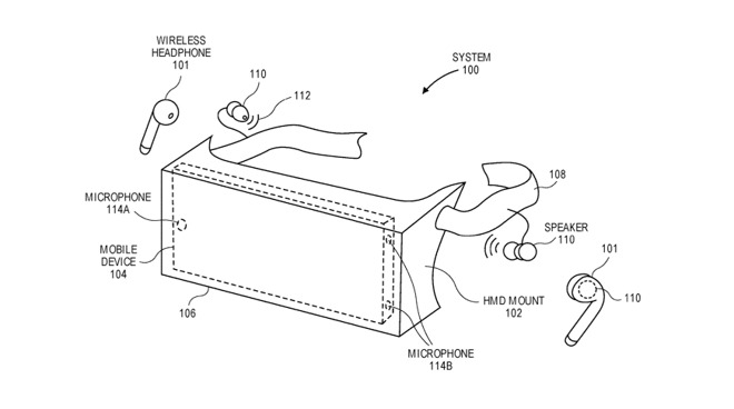
Apple podle všeho stále usilovněji a detailněji pracuje na vývoji svého zařízení pro rozšířenou realitu. Zmíněné patenty se z velké části soustředí na řešení, s jehož pomocí se k uživateli správnou cestou dostane audio stopa, a popisují také to, jak trvale umístit virtuální objekty do obrazu reálného světa. S rozšířenou realitou ale souvisí také patent, popisující prsten – ten by měl zastávat podobnou funkci, jakou ve virtuální realitě zastávají speciální rukavice. O produktu s názvem „iRing“ se ve spojitosti s Applem spekulovalo již před několika lety, teprve nyní ale dostává konkrétnější podobu. Popisované audio zařízení by mělo rozpoznat, kdy má uživatel na hlavě nasazený speciální displej pro zobrazování rozšířené reality, a ze spárovaného zařízení do něj odeslat zvukový signál. Zvuk z připojeného iPhonu se tedy bude namísto reproduktorů smartphonu přehrávat na náhlavní soupravě. Zatímco předchozí patenty od Applu zmiňovaly v souvislosti s rozšířenou realitou rukavice nebo sérii prstenů, ten nejnovější hovoří pouze o jednom jediném prstenu. Ten má sloužit k přenosu potřebných údajů o pohybu nositele. Prsten by měl být vybaven snímači tlaku, akcelerometry a dalšími senzory. Třetí patent se zabývá způsobem, jakým budou virtuální objekty trvale umístěny v reálném světě.

Patenty, které si Apple nechává registrovat, je samozřejmě zapotřebí brát s rezervou, protože ne vždy musí dojít k jejich realizaci. Zveřejněné dokumenty by ale mohly souviset se systémem pro rozšířenou realitu, který by Apple měl podle dohadů vydat v roce 2022.

Dnes nejčtenější

.