Apple zařízení budou schopná v budoucnu varovat své majitele před nebezpečím v životním prostředí. Svědčí o tom patent, popisující environmentální senzor, schopný analyzovat plyny a tekutiny. Díky tomuto patentu by v budoucnu mohly iPhony a Apple Watch informovat své uživatele o potenciálních neviditelných nebezpečích v okolním prostředí.
Nejnovější patent ukazuje zabudované senzory se schopností analýzy látek plynného i kapalného skupenství. Zařízení od Applu s tímto patentem by měla být v budoucnu schopná varovat svého majitele před potenciálním nebezpečím v okolním prostředí. Patent zveřejnil Úřad USA pro patenty a obchodní známky. Nese název „Elektronické zařízení se senzorem v krytu reproduktoru“. Zařízení je schopné analyzovat zmíněný materiál a zároveň před ním chránit celý přístroj.
Mohlo by vás zajímat
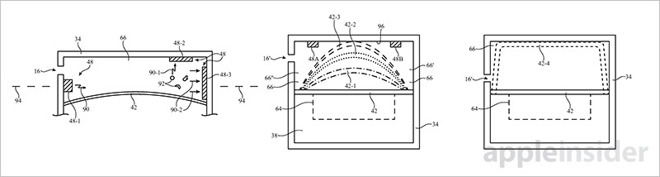
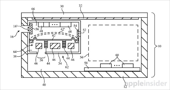
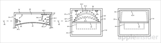
Zabudovat senzor prostředí do mobilního elektronického zařízení není nic jednoduchého. Pohybové a jiné senzory lze zakomponovat do vnitřku zařízení, ale senozory, měřící kvalitu vzduchu a další podobné hodnoty, musí být těmto prvkům, které k zařízení jako takovému nejsou zrovna přátelské, logicky přímo vystaveny. Apple navrhuje umístění senzoru okolního prostředí do krytu reproduktoru nebo do příslušného portu. Součástka je navržena tak, aby byla schopná analyzovat okolní podmínky, ale aby zároveň byla schopná jejich vlivům mechanicky odolávat. Zařízení se senzorem bude schopno přitahovat, zachytávat a následně vylučovat vzduch, vodu a další materiály.
Mohlo by vás zajímat
Kdy Apple začne patentovanou metodu instalovat do svých mobilních zařízení, je zatím ve hvězdách, alternativní technologie do reproduktorů své nositelné elektroniky ale již zařazuje. Letošní Apple Watch Series 2 disponují reproduktorovým systémem, který je schopný aktivně vytlačit vodu. Apple poznamenal, že patentovaný senzor může obsahovat například teplotní senzor, senzor těkavých organických sloučenin, senzor kyslíku, ozónu a dalších plynů, čidlo vlhkosti, chemické a biologické senzory a další.
Apple zařízení budou schopná v budoucnu varovat své majitele před nebezpečím v životním prostředí. Svědčí o tom patent, popisující environmentální senzor, schopný analyzovat plyny a tekutiny. Díky tomuto patentu by v budoucnu mohly iPhony a Apple Watch informovat své uživatele o potenciálních neviditelných nebezpečích v okolním prostředí.
Nejnovější patent ukazuje zabudované senzory se schopností analýzy látek plynného i kapalného skupenství. Zařízení od Applu s tímto patentem by měla být v budoucnu schopná varovat svého majitele před potenciálním nebezpečím v okolním prostředí. Patent zveřejnil Úřad USA pro patenty a obchodní známky. Nese název „Elektronické zařízení se senzorem v krytu reproduktoru“. Zařízení je schopné analyzovat zmíněný materiál a zároveň před ním chránit celý přístroj.
Mohlo by vás zajímat
Zabudovat senzor prostředí do mobilního elektronického zařízení není nic jednoduchého. Pohybové a jiné senzory lze zakomponovat do vnitřku zařízení, ale senozory, měřící kvalitu vzduchu a další podobné hodnoty, musí být těmto prvkům, které k zařízení jako takovému nejsou zrovna přátelské, logicky přímo vystaveny. Apple navrhuje umístění senzoru okolního prostředí do krytu reproduktoru nebo do příslušného portu. Součástka je navržena tak, aby byla schopná analyzovat okolní podmínky, ale aby zároveň byla schopná jejich vlivům mechanicky odolávat. Zařízení se senzorem bude schopno přitahovat, zachytávat a následně vylučovat vzduch, vodu a další materiály.
Mohlo by vás zajímat
Kdy Apple začne patentovanou metodu instalovat do svých mobilních zařízení, je zatím ve hvězdách, alternativní technologie do reproduktorů své nositelné elektroniky ale již zařazuje. Letošní Apple Watch Series 2 disponují reproduktorovým systémem, který je schopný aktivně vytlačit vodu. Apple poznamenal, že patentovaný senzor může obsahovat například teplotní senzor, senzor těkavých organických sloučenin, senzor kyslíku, ozónu a dalších plynů, čidlo vlhkosti, chemické a biologické senzory a další.
Zařízení s tímto systémem senzorů bude schopné načítat z nich data, provádět jejich analýzu a vypracovat pro uživatele potřebné informace v podobě vizuálního, zvukového nebo hmatového upozornění v případě vstupu do prostředí s vysokou koncentrací nebezpečných látek. Výstup z environmentálního senzoru lze nakombinovat s výstupy z jiných senzorů, jako je například akcelerometr, a zařízení tak bude schopné varovat uživatele před sportovními výkony v prostředí, které k tomu není vhodné. Patentová žádost pochází z května roku 2015 a je po dní jako autor podepsán Fletcher R. Rothkopf.
Zdroj: AppleInsider.com
Nejlepší patent co Apple mohl vymyslet za mě velký palec nahoru ??