Jablečná společnost je průkopníkem z mnoha různých ohledů a zdaleka již neplatí, že se toto tvrzení týká pouze hardwaru. Konec konců, Apple si nechává potvrzovat jeden patent za druhým a nemalé procento z nich se týká i bezdrátových technologií, které jsou a budou alfou a omegou technologického sektoru. Nyní kalifornský gigant přišel s novým řešením, jak by se daly sdílet informace mezi uživateli.
Mohlo by vás zajímat
O patentech Applu píšeme dnes a denně a mnohdy se jedná o poměrně zajímavé a inovativní způsoby, které jen čekají na to, až je někdo zrealizuje. Nejinak je tomu i u nejnovějšího potvrzeného patentu, který se zaměřuje na bezdrátový přenos dat. Ten by podle společnosti mohl probíhat tak, že by se na sebe dvě zařízení navzájem namířila a ihned by započal přenos. Apple zkrátka počítá s tím, že takto bude v budoucnu probíhat většina lidské komunikace, a tak se snaží celý koncept zjednodušit. AirDrop a potažmo Bluetooth je totiž podle kalifornského giganta již poměrně zastaralá technologie, jejíž pomalá odezva nedrží tempo s dobou. Detekce okolních zařízení totiž trvá často relativně dlouho, což je podle společnosti zřejmě nepřijatelné. Apple tak chce docílit toho, aby celý proces proběhl za několik málo sekund, a uživatel tak nemusel příliš dlouho čekat.
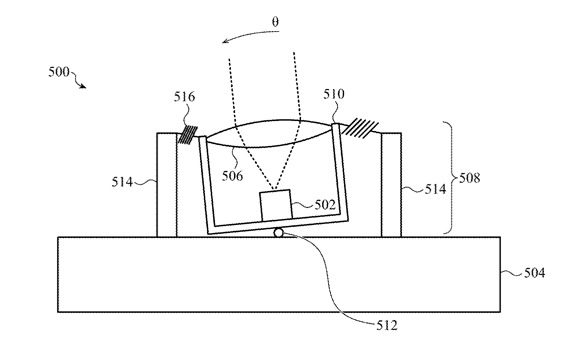
Náhradou by tak mohly být optické vysílače a přijímače, které se až nápadně podobají starému IRTalk systému. Ten byl založen na konceptu optických zařízení, která si pomocí paprsků navzájem vyměňovala informace. Ostatně, byla to právě jablečná společnost, kdo tehdy s tímto nápadem přišel a úspěšně ho zrealizoval. Na patentu se podílelo 6 vynálezců a výzkumníků, kteří mají za sebou až 200 různých patentů, zaměřených zejména na optickou komunikaci, ultra červené záření a fotovoltaická zařízení. Dva z nich, Omid Momtahan a Tong Chen, stojí také za novou metodou využití pohyblivých čoček v prostoru pro přenos informací. Ve své práci dospěli k tomu, že by se jednalo o mnohem rychlejší a efektivnější způsob výměny informací a souborů, avšak na druhou stranu záleží na tom, jak přesně je zařízení na mířeno a stačila by mírná odchylka k tomu, aby celý koncept selhal. Jednoduše řečeno, prim by hrál paprsek, který by putoval z jednoho zařízení na druhé.
Mohlo by vás zajímat
V praxi by tedy stačilo, aby jste váš telefon namířili ve správném úhlu na zařízení dalšího člověka, což by vyústilo v okamžitý přenos pomocí elektrického či světelného impulzu. V každém případě by měla být čočka, tedy přijímač paprsku, schopná natáčet se tak, aby informaci správně uchopila. Jedná se o neuvěřitelně komplexní systém založený na přesném pohybu světla, který by však vyžadoval přesné zacházení. Jednodušším řešením by tak bylo využití infračerveného světla, podobně jako při ovládání televize dálkovým ovladačem. Uvidíme, zda Apple koncept zrealizuje, nebo přijde s něčím efektivnějším.
Proc tak asi jenom ostatni firmy od prenosu pres IR daly ruce pryc vy pantenti
Podle článku to není IR
že by něco na způsob Android beam přes NFC? Tam to lítá celkem hodně rychle, zkoušel jsem přenýst 1.2GB film a bylo to do 40s přenesený do druhýho telefonu
preco mi to len pripomina dialkovy ovladac 21 stor :))))
Tech 40 sekund je hoooodne nadnesene cislo ;) nech si ty pohadky ;)
Pokud to jde skrze NFC, tak jen na pocatku v ramci otavreni “spojeni” Pak to jde pres BT/wifi podle velikosti souboru ;)
No ono pokud premyslis v omezenych mantinelech, pak je to nadnesene. Nicmene muze se jednat o uplne novou technologii, ktera prinese drive nemyslitelnou rychlost
Android Beam je uplne nova technologie? ;)
Promin, ale takove rychlosti dava zatim 5G sit. V realnem provozu to je myslim nejakych 300-500 Mbit (tohle myslim bylo v Monaku).
Takze opravdu tech 40 sekund na 1,2GB dat je nadnesene?
Jakej Android Beam? Nespletl sis stranky?
Rikam, ze ta technologie neni ani predstavena a ty uz vis, na jakem principu bude fungovat, vid? 🤦♂️
2 Achjo: kdybys lépe četl komentáře jak jdou po sobě a nereagoval jen na polsední post, tak zjistíš, že to byla reakce na příspěvek od Bjørn/10. 12. 2019 15:22 ;-)
RoSch: no jo, jsem sebestredny, znas to 🙂 v tom pripade zmastil 2 komentare do jednoho..
Ti diletanti z Applu by namísto šaškáren s patentama, přenosem dat, které nejsou ani schopni zajistit, atd. se obratem měli věnovat tomu, jak eliminovat dopady jailbraku(checkra1n) ohrožující širokou paletu iP!!!!
Fakt se divím, ze někdo jeste uvažuje o koupi předražených Apple produktu s tak fatalnimi chybami a nekvalitou!!!
Nekvalitní smejd za 5k je stále smysluplnější transakce než za 30k!!
Nenapsal bych, že něco vymysleli ale jen, že se snaží zdokonalit to o čem se už vědělo jak funguje ale realizovat to v praxi nešlo pro svoji chybovost.
Dnes jsem četl, že Apple jedná na Thajwanu o nákupu technologie pro čtečku otisků prstu v displeji pro IP12 :))) Není pochyb o tom, že Asie jablečnému gigantovi je opravdu o generaci technologicky vzdálena.
Hnujavej se od usa součástek už odstřihl dobrovolně a rád ale kdyby z Asie přestaly chodit součástky do USA, mohli by iphone skládat maximálně z lega :) To by měl někdo Trumpovi povědět ale kdyby mu to řekli, hned by ho vyrazil. Pač Amerika first :)
Prosim Vas ja som tu novy.
Stale plati pravudlo: čim viac iVeci tym väčšia iOvca?