Posadnutosť jednoduchosťou nie je pre Apple žiadnou neznámou a nový patent tomu len nasvedčuje. Spoločnosť dnes získala nový patent, vďaka ktorému by bola schopná vytvoriť ešte tenšie zariadenia ako doteraz, a zároveň by ešte viac zminimalizovala vzhľad celého produktu. Kým na zariadeniach so systémom iOS si používateľ musí vystačiť s jediným konektorom, ktorý slúži na pripájanie všetkého, na počítačoch Mac je tomu inak a stretneme sa na nich s viacerými druhmi konektorov.
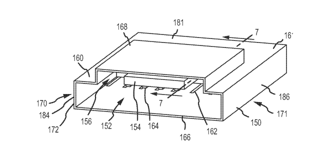
S novým patentom však tomu môže byť navždy koniec. Apple ako ten, ktorý sa snaží používateľom uľahčiť život, dnes získal ďalší nový patent, ktorý prezentuje úplne nový druh konektoru, ktorý spája USB port a čítačku SD kariet dohromady. Nový port vyzerá doslova ako kombinácia týchto dvoch existujúcich portov a ako sa dalo čakať, využíva rozhranie oboch systémov. Čo to v praxi znamená? Apple sa rozhodol ako vzorové zariadenie použiť MacBook Air, vďaka čomu je možné, že Apple s takýmto portom môže už dnes experimentovať. Samotný port má však istú nevýhodu. Do portu je možné pripojiť iba jedno jediné zariadenie, a tak si používateľ musí vopred premyslieť, či zrovna bude pracovať s pamäťovou kartou alebo k MacBooku pripojí externý disk.
Apple vo svojom patente uvádza dva možné spôsoby, ako by tento port mohol vyzerať. Prvým variantom je model, ktorý spája oba porty v strede, vďaka čomu môže unifikovaný port pripomínať hranatejšie HDMI. V druhom prípade sa ale jedná o efektívnejší produkt, ktorý by spájal čítačku a USB port na ľavej, respektíve pravej strane, čím by tento port získal väčšiu životnosť. Pokiaľ by sa Apple rozhodol tento patent aplikovať, znamenalo by to, že by mohol vytvoriť potenciálne tenší MacBook Air, respektíve 13-palcový MacBook Pro s Retina displejom. Práve o ňom sa špekuluje, že by sa v tomto roku mal dočkať ešte tenšej karosérie. Autorom patentu je Jang Changsoo a návrh na prihlásenie patentu bol podaný 23. decembra 2011.
*Zdroj: FreePatentsOnline
Jak se řiká, Lajk žasne a odborník krotí hlavou… :) Je to jednuduchý až je to složitý :) Dobrej nápad, ušetří to hodně místa.
Ja mam na svojom Delli eSata s USB dokopy, myslim, ze ziadna novinka, len si to dali patentovat a budu vyberat licencne poplatky :)
sikovne :)to by ma nenapadlo
Co kdyz budu potrebovat pouzit USB i SD najednou…?