Apple svá zařízení neustále zdokonaluje, přičemž inovacemi se snaží ochránit zdraví uživatelů. Před několika dny cupertinská společnost dokonce získala patent, který by mohl zabránit tomu, aby uživatelé jablečných telefonů trpěli takzvaným luminiscenčním šokem.
Mohlo by vás zajímat
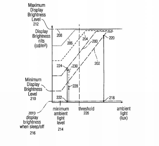
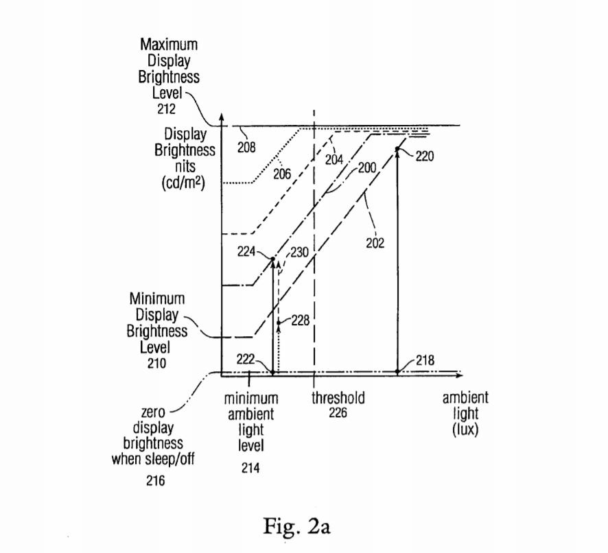
Luminiscenční šok nastane v okamžiku, kdy se díváte ve tmě na displej telefonu s příliš vysokým jasem. Pokud však máte nastavený automatický jas, po několika sekundách ve tmě se jas obrazovky přizpůsobí okolí, nicméně vaše oči už byly v těch prvních několika málo sekundách „šokovány“ vysokým jasem.
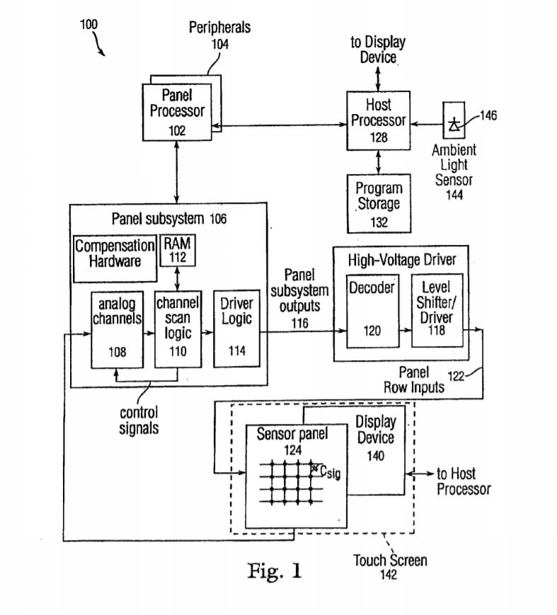
Apple však získal patent zvaný „Luminescence Shock Avoidance in Display Devices“, díky němuž by Apple mohl omezit u iPhonu omezit úroveň jasu obrazovky, jakmile se zařízení dostane do tmavého prostředí. Jak by to fungovalo? Senzor okolního světla na zařízení bude neustále zjišťovat množství světla, respektive tmy v místnosti a po zapnutí telefonu bude jas obrazovky okamžitě na správné úrovni, takže vaše oči nebudou nijak trpět. Celá novinka by se tak chovala v porovnání s klasickým automatickým jasem lehce odlišně, jelikož ten je snižován spíše pozvolna.
Mohlo by vás zajímat
Apple už sice nabízí režim Nigh Shift u iPhonů a iPadů se systémem iOS 9.3 a vyšším, který nejenže snižuje jas, ale také odstraňuje modré světlo, což tak moc nenamáhá oči, vylepšení popisované v patentu by však rozhodně špatné nebylo. Ušetřilo by nás minimálně pár nepříjemných sekund „slepoty“.
vymýšlí takovouhle pičovinu a přitom řešení je ještě jednodušší = plnohodnotný dark mode
co ma dark mode společneho s podsvicením ? možna tak u iphone X ale u LCD nemá vliv ..
Pan chytrej tady plácnul hovadinu se zbytečným dark modem a např. na bílých stránkách internetu ti bude jako k čemu? K hounu.