Zavřít reklamu

Bezdrátová sluchátka AirPods se nabíjí v pouzdře, které je však nezbytné také pravidelně nabíjet. Pouzdro kromě ochranné a nabíjecí funkce k ničemu jinému neslouží, což je obrovská škoda. Co kdyby však sloužilo i jako reproduktor, respektive jeho součást? Apple před několika dny získal patent, ve kterém je popsána právě podobná myšlenka.

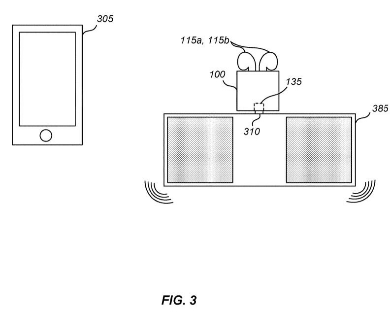
V patentu je popsáno, že pouzdro pro bezdrátová sluchátka by bylo konfigurováno tak, aby se do něj uložila bezdrátová sluchátka, která je potřeba nabít. Zároveň by bylo pouzdro vyrobeno tak, aby dokázalo přenášet zvuk přijímaný bezdrátovými sluchátky do výstupního zařízení, které by bylo k pouzdru připojené. S trochou nadsázky se tak dá říci, že by se Apple vrátil ke kořenům a vytvořil by produkt, který by se nápadně podobal reproduktoru, do kterého se před lety zapojoval hudební přehrávač iPod.

Ovšem patent je nezbytné brát trochu s rezervou, protože cupertinská společnost získala už celou řadu patentů, přičemž ne všechny byly proměněny do reality. Pokud by se však Apple rozhodl pro realizaci daného patentu, uživatelé by to ocenili, protože by mohli i při nabíjení AirPods nadále poslouchat hudbu. Apple by však rád šel ještě o něco dál.

Jablečná společnost zvažuje přidat pouzdru více funkcí než jen nabíjení. Patent popisuje, že by se dala AirPods s pouzdrem spárovat přes Bluetooth, takže hudba by byla streamovaná z nabíjecího pouzdra, ve kterém by byla uložená. Jak uvádí patentová přihláška: „Pouzdro by mohlo obsahovat vlastní bezdrátové rádio, které by mohlo přenášet zvuk do sluchátek, pokud zrovna nebudou v pouzdře.“ Dočkat bychom se tak mohli teoreticky i toho, že bychom k poslechu hudby z AirPods nepotřebovali spárovaný iPhone, Mac či Apple Watch.

Spekuluje se, že v letošním roce bychom se mohli dočkat druhé generace AirPods, která by přinesla nové funkce, například podporu Hey Siri. Zároveň očekáváme, že brzy začne Apple prodávat bezdrátové nabíjecí pouzdro, které se bude dát nabíjet na podložce AirPower.

Apple AirPods FB

Dnes nejčtenější

.