Zavřít reklamu

iPhone edge iconV poslední době to vypadá, že Samsung stále nepřestal s kopírováním nápadů od Applu. Ať už se jednalo o „kontroverzní“ Night Shift nebo pak design chytrých hodinek Smart Watch. Bylo by ovšem nesmyslné se domnívat, že to tak funguje pouze na jednu stranu. Apple se také dokáže u svého jihokorejského konkurenta „inspirovat“ a právě jeden z takových patentů byl nedávno přijat. Jedná se o řešení, které Samsung využívá u svých mobilních telefonů řady Edge, tedy ovládací prvky nacházející se na zaoblené straně displeje – zejména pak multifunkční tlačítka. 

První „Edge“ zařízení od Samsungu byl Note Edge, který spatřil světlo světa v září 2014. Od té doby společnost toto provedení využívá u svých vlajkových modelů, ať už se jedná o řadu telefonů Galaxy, nebo phabletů Note. Je to jen pár týdnů, co se světu ukázal nejnovější model Galaxy Note 7, který má velmi našlapané specifikace a ukazuje, o kolik je Samsung oproti Applu napřed. Apple o tento patent požádal v květnu roku 2014 a přiznán byl až nyní.

square

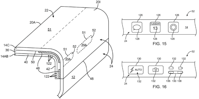
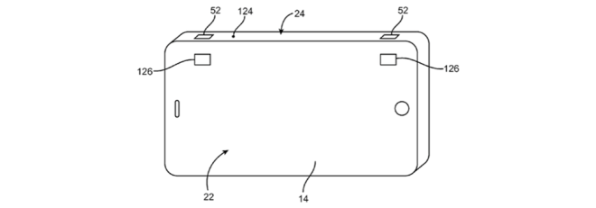
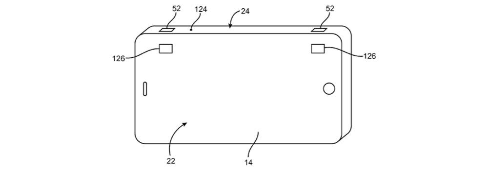
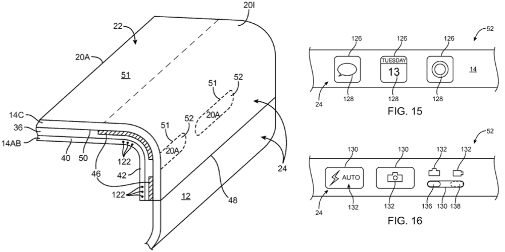
Na rozdíl od Samsungu, který využívá plynulého přechodu mezi přední a boční stranou telefonu, má Apple použít jakési fyzické oddělení obou částí displejů. I přes to se má ale jednat o jeden kus zobrazovacího panelu. Takovýto design by naznačoval využití podobného hranatého profilu, jaký má například iPhone SE. Boční dotykový displej má disponovat nejen multifunkčními softwarovými tlačítky, ale měl by také podporovat různá gesta jako například poklepání, přejetí, roztažení a tak dále.

Většinou se u takto starých patentů předpokládá, že s nimi společnost přišla na základě nějakého specifického podnětu a po nějaké době upadnou do zapomnění a už se o nich nikdy nic nedozvíme. Tento konkrétní patent však byl za posledních 15 měsíců třikrát upravován, takže je velice dobře možné, že se jeho využití jednou dočkáme. Rozhodně to však nebude u nadcházejícího iPhonu 7, který má mít ještě klasický displej. Ovšem iPhone z roku 2018 má být údajně pořádná pecka…

Zdroj: 9to5mac

Dnes nejčtenější

.