Zavřít reklamu

Apple do 9,7palcového iPadu Pro integroval novou technologii, která se jmenuje True Tone display. Technologie respektive funkce upravuje vyvážení bílé barvy a určuje intenzitu bílého světla. Hlavní myšlenkou celého konceptu je, že bílá barva má tendenci vypadat jinak na jiném osvětlení a Apple chce, abyste vždy viděli perfektní obraz. Nové patenty ukazují, že Apple chce rozšířit technologii i do ostatních zařízení, což by uvítalo mnoho uživatelů, kteří měli tu čest s 9,7″ iPad Pro pracovat, protože True Tone je opravdu užitečný a spousta velkých zahraničních médii jej vychválila do nebes.

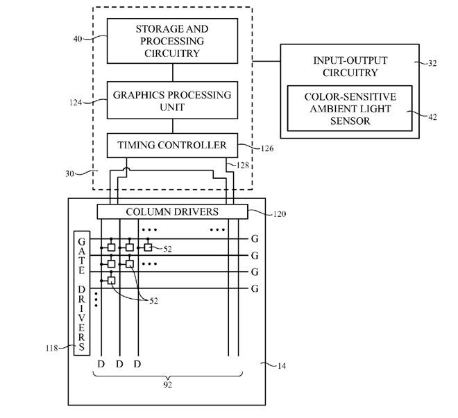
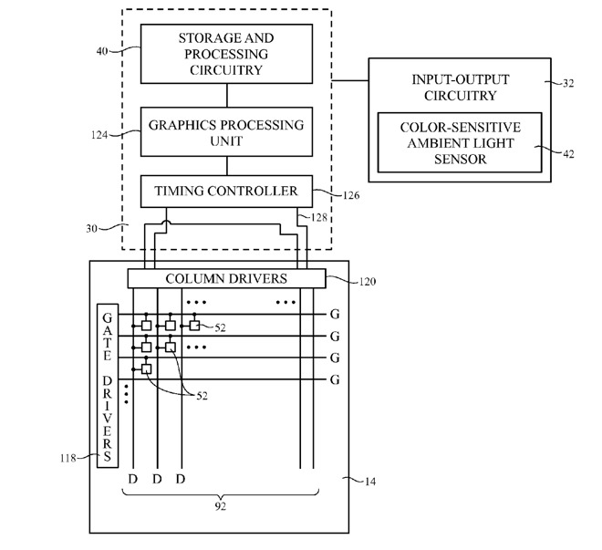
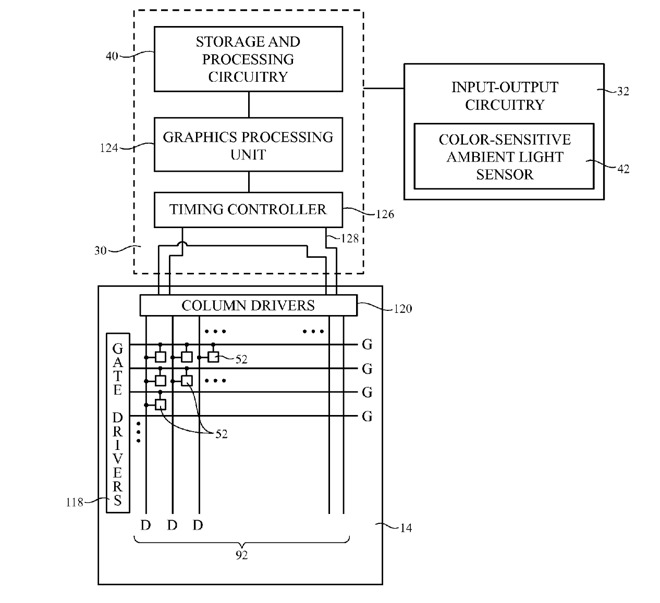
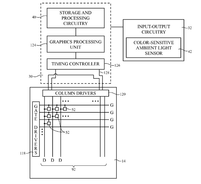
Americký patentový úřad přijal ve čtvrtek přihlášku, která uvádí podrobnosti o technologii, kterou Apple představil u 9,7palcového iPadu Pro. Technologie se trochu liší, ale výsledek je téměř stejný. Apple v popisu pokročilé zobrazovací technologie napsal: „Barvy pomocí technologie vypadají tak, jako na tištěném papíru.“ Podobnou větu uvedl Apple v marketingových materiálech pro nejnovější iPad (9,7″ iPad Pro).

Stejně jako většina patentů Applu, tak i tento zahrnuje všechny možné zobrazovací technologie a upozorňuje, že jakýkoli OLED displej může být použit k implementaci patentované technologie. Popis technologie naznačuje, že by mohla být použita úplně všude, včetně malých displejů mezi které patří Apple Watch. Dokonce by se měli dočkat i majitelé velkých stolních počítačů, mezi které patří iMac.

17349-14775-Screen-Shot-2016-06-23-at-91503-AM-l

V patentu Apple uvádí, že nový „Real True Tone“ displej, bude automaticky regulovat intenzitu jasu. Například ve slabém osvětlení bude displej napodobovat vzhled se světelným zdrojem žárovka, zatímco v jasném prostředí displej maximalizuje jas pro zlepšení čitelnosti. Apple dále uvádí, že kromě přesnějšího podání barev Real True Tone displej dokáže vyfiltrovat modré světlo, například k večeru, čímž vám pomůže lépe spát. Stejného výsledku již dnes můžeme dosáhnout funkcí Noční režim.

Že Apple bude více používat True Tone technologii značí i nedávná informace, ve který bylo uvedeno, že Apple do iPhonu 7 integruje více okolních světelných čidel. Na začátku tohoto roku bylo řečeno, že budoucí iPhone bude mít v horní části dva záhadné senzory, které by právě k ovládání technologie mohli sloužit.

17349-14774-Screen-Shot-2016-06-23-at-91440-AM-l
true-tone-fb

*zdroj: iDropNews

Dnes nejčtenější

.