Zavřít reklamu

Webkamera na MacBooku Pro je nechvalně známá svou horší kvalitou ve srovnání s těmi, které se nachází na iPhonu. Nový patent však naznačuje, že Apple pracuje na řešení tohoto problému a zvažuje odvážný krok – montáž větších kamer na otočný displej.

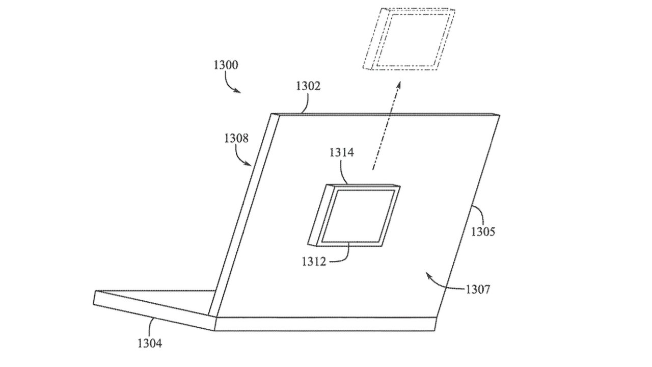
Dosavadní řešení s výřezem pro kameru na MacBooku Pro sice zabírá místo na obrazovce, ale na druhou stranu nepříliš zvyšuje tloušťku víka. Právě omezený prostor by mohl být důvodem, proč Apple dosud nedokázal do MacBooku Pro zabudovat kvalitnější kameru. Místo čekání na vývoj tenčích komponent se Apple možná rozhodl zkusit jiný přístup. Nově udělený patent s názvem „Integrace kamery pro přenosná elektronická zařízení“ zcela ignoruje snahu o tenký profil a zaměřuje se na poskytnutí potřebného kamerového systému pro MacBook Pro. Patent sice popisuje pouze ideu a ilustrační obrázky, ale zároveň naznačuje, že tloušťka nového kamerového systému by neměla překročit 3 mm. A je jisté, že by vyčníval z víka MacBooku Pro. Otázkou je, jak široký by tento výčnělek byl a kde by byl umístěn. V některých obrázcích na patentové přihlášce se kamera objevuje alespoň částečně v oblasti výřezu displeje. V jiných případech může být druhý kamerový modul umístěn na jedné straně obrazovky nebo dokonce zcela odstraněn zepředu a připevněn na zadní straně.

Patent popisuje „optickou součást“ připevněnou k „stěně“ (nebo víku) MacBooku Pro, pravděpodobně pomocí magnetů. Tato optická součást může být podle potřeby odstraněna a připevněna k displeji. Patent také několikrát zmiňuje možnost komunikace mezi různými kamerovými moduly. Například jedna kamera by mohla vyčnívat zepředu displeje směrem k uživateli a druhá zezadu. Tím by sice zmizel výřez, ale na jeho místě by byla mnohem větší kamera.  MacBook by možná mohl být vybaven dvěma podobnými kamerovými moduly nebo by mohl mít jednu kameru na zadní straně pro natáčení dotazovaného a druhou vestavěnou kameru FaceTime pro tazatele. Patent však obsahuje ještě jednu revoluční myšlenku – otočný displej. Uživatel by mohl jeden z těchto dodatečných kamerových modulů namontovat na zadní stranu víka MacBooku Pro a poté celý displej otočit, když chce být natáčen, případně by jej mohl namontovat na přední stranu a otočit displej pro použití LiDAR senzoru kamerového modulu.

Na rozdíl od jiných patentů se tento dokument nezaměřuje na výhody otáčení displeje ani na způsob jeho realizace. Cílem je zavést vyčnívající kamerové nebo senzorové moduly a popisy otáčení se týkají pouze toho, kolik plochy obrazovky by bylo vidět. I běžný otočný displej je technickým zázrakem a zatížení ohebných kabelů vždy představovalo problém. Možná by to však již neplatilo, protože otočný displej by nemusel mít kabely procházející osou – mohl by být bezdrátový. Pokud by takový displej fungoval podobně jako Sidecar, umožnilo by to i poslední myšlenku patentu – odnímatelný displej. Displej by se místo otáčení mohl zcela oddělit od základny, otočit a znovu zasunout. To by otevřelo možnosti konfigurace obrazovky nebo klávesnice podle různých potřeb. Patent je připsán čtyřem vynálezcům, včetně Keitha J. Hendrena, jehož předchozí práce zahrnovala výzkum výroby iMacu z jednoho kusu skla.

Dnes nejčtenější

.