Jednou z novinek, spojených s nově představenými iPhony, je nabíjecí technologie MagSafe. Krátce po skončení říjnové Keynote se na webu Applu objevily obaly a kryty, které umožňují nabíjení za pomoci zmíněné technologie. V dohledné době by se ale mohly objevit také jablečné kryty, které kromě iPhonu dokáží nabít i AirPods.
Mohlo by vás zajímat
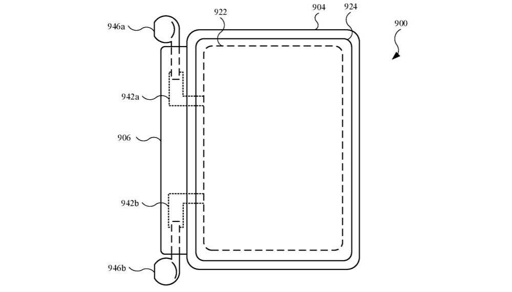
Jablečná společnost si totiž v minulosti podala žádost o patentování MagSafe krytu se schopností nabíjení iPhonu i kompatibilních jablečných bezdrátových sluchátek. Podle nákresu v patentové žádosti se jedná o kryt typu Folio s integrovanou baterií. Zmíněná žádost pochází dokonce ze srpna loňského roku, na veřejnosti se ale objevila teprve koncem minulého týdne. Popis samotného patentu se nese v poměrně neurčitém stylu, to mu ale nijak neubírá na zajímavosti. Popisované zařízení má sloužit nejen k ochraně daného zařízení, ale také k nabíjení baterie dalšího produktu. Součástí obalu má být integrovaná indukční cívka. Na jedné z ilustrací lze vidět kryt, jehož část připomíná nabíjecí obal Smart Battery Case s Lightning portem, na dalším obrázku lze jasně vidět způsob bezdrátového nabíjení prostřednictvím MagSafe. Na obou ilustracích můžeme vidět také držáky, sloužící k připojení AirPodů – v jednom případě se zmíněný držák nachází na straně krytu, ve druhém na jeho přední části.
O možnosti nabíjení drobnější elektroniky, jako jsou třeba sluchátka AirPods, pomocí iPhonu se spekulovalo již dříve. Společnost Samsung u některých svých smartphonů nabízí tuto možnost prostřednictvím funkce PowerShare, Apple ale nabíjení přímo prostřednictvím iPhonu nikdy nezavedl – alternativním řešením by tedy mohl být zmíněný kryt. Samotná patentová žádost samozřejmě nezaručuje, že k realizaci popisovaného zařízení vůbec dojde, není ale vyloučené, že by Apple mohl v budoucnu využít podobnou technologii. Láká vás pouzdro, které kromě iPhonu dokáže nabít i vaše AirPody?
Mohlo by vás zajímat
Tak místo toho, aby do iphonu dali reverzní nabíjení, tak místo toho dostaneme tuhle zhovadilost. Paráda 😁
Se divím, že věříš článkům zde.. Někdo má nějaký patent, ale jenom LsA to bere jako hotovou věc.
Reverzní nabíjení, ale čeho? Vzhledem k tomu proprietárnímu řešení AW byste si nabili jen Qi standardem vybavená příslušenství. Bez hodinek – a to je takové „napůl“…