Zavřít reklamu

Apple HomePod je skutečně sofistikovaným chytrým reproduktorem. Tepe v něm procesor A8, který má na starost zpracování zvuku a vytváření co nejpříjemnějšího sluchového zážitku pro posluchače. HomePod snímá odraz přehrávaného zvuku a upravuje hlasitost dvou reproduktorů takovým způsobem, aby přehrávání v dané místnosti vzhledem k poloze reproduktoru znělo skvěle.

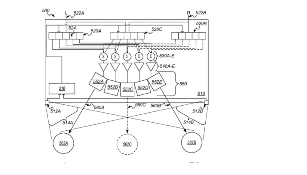
I když je tato technologie sama o sobě působivá, Apple má zřejmě v úmyslu posunout přehrávání hudby ještě o úroveň výš. Tento týden byl zveřejněný patent, který popisuje systém, jak by HomePod mohl v budoucnu reagovat a upravovat přehrávání vzhledem k postavení osob v místnosti. V patentu je popsán postup, jak by síť několika reproduktorů mohla snímat a korigovat přehrávání hudby, aby pro každého v místnosti zněla dobře a hlavně, aby každý posluchač slyšel pouze mu přehrávanou hudbu. V místnosti by tak mohlo být několik lidí a každý by si užíval poslech svého oblíbeného interpreta.

Grafické znázornění obou patentů:

HomePod s „očima“

Druhý patent je velice podobný výše zmíněnému a je tedy jakousi jednodušší alternativou. Na základě snímání osob v místnosti (zřejmě kamerou), HomePod vypočítá bod tzv. dokonalého poslechu, který se bude odvíjet od vzájemné polohy lidí v místnosti. V případě pohybu dojde k upravování parametrů přehrávané hudby, aby posluchač opět měl k dispozici nejlepší možnou kvalitu hudby. V tomto případě by ale byla pro všechny uživatele přehrávána stejná hudba, což se v dohledné době jeví jako mnohem reálnější.

Jablečný reproduktor by rovněž měl reagovat na specifické situace. Pokud například při snímání okolí zjistí, že se v místnosti nenachází žádná osoba, hudbu pozastaví. Po příchodu posluchače hudbu opět spustí. Rovněž by mohlo být možné, že by HomePod při přiblížení posluchače automaticky snížil hlasitost, aby hlasitý zvuk nepůsobil nepříjemně. Ač to zní skvěle, je třeba upozornit, že se jedná pouze o patent, který nemusí být společností Apple nikdy uveden v život. Na každý pád by něco podobného mohlo být určitě pro kupující lákadlem. Není tajemstvím, že HomePod se zrovna nejlépe neprodává a bývá upozaděn mnohem levnějšími reproduktory od Amazonu nebo Googlu.

HomePod je stejně úspěšný jako Amazon Echo Plus nebo Google Home Max

Dnes nejčtenější

.