Samsung byl jedním z prvních, kdo začal s velkými úhlopříčkami u displejů smartphonů. Těmto telefonům se začalo přezdívat phablety. Apple se zpočátku držel při zemi a jakékoliv zvětšování zamítal. Nakonec však stejně musel kvůli konkurenci displej zvětšit a tak zde máme pádla jako je iPhone 6 Plus a iPhone 6s Plus. Loni Samsung udělal další krok a to zahnuté hrany u Samsungu Galaxy S6 Edge. Bude ho v tomto kroku následovat Apple i tentokrát?
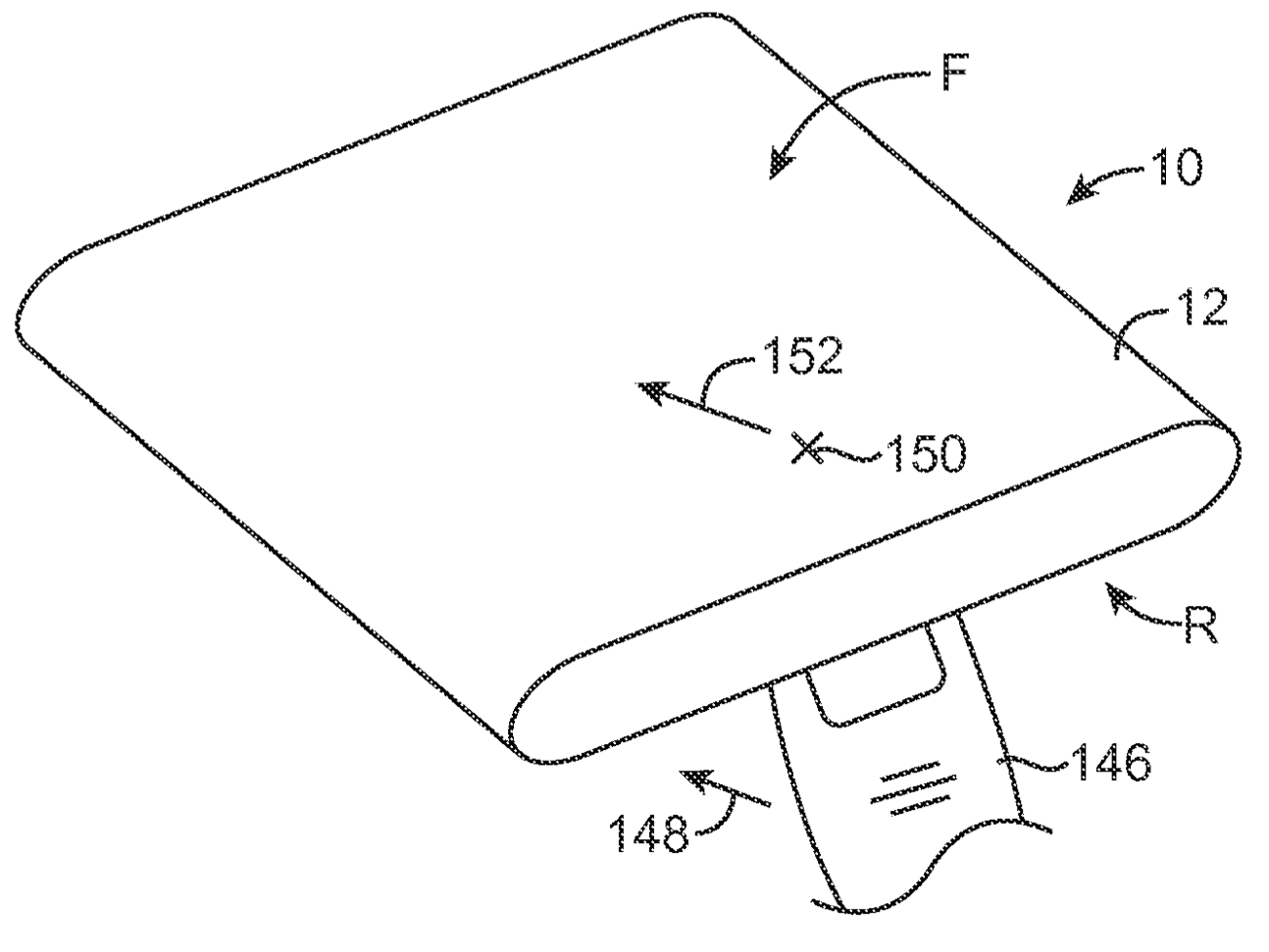
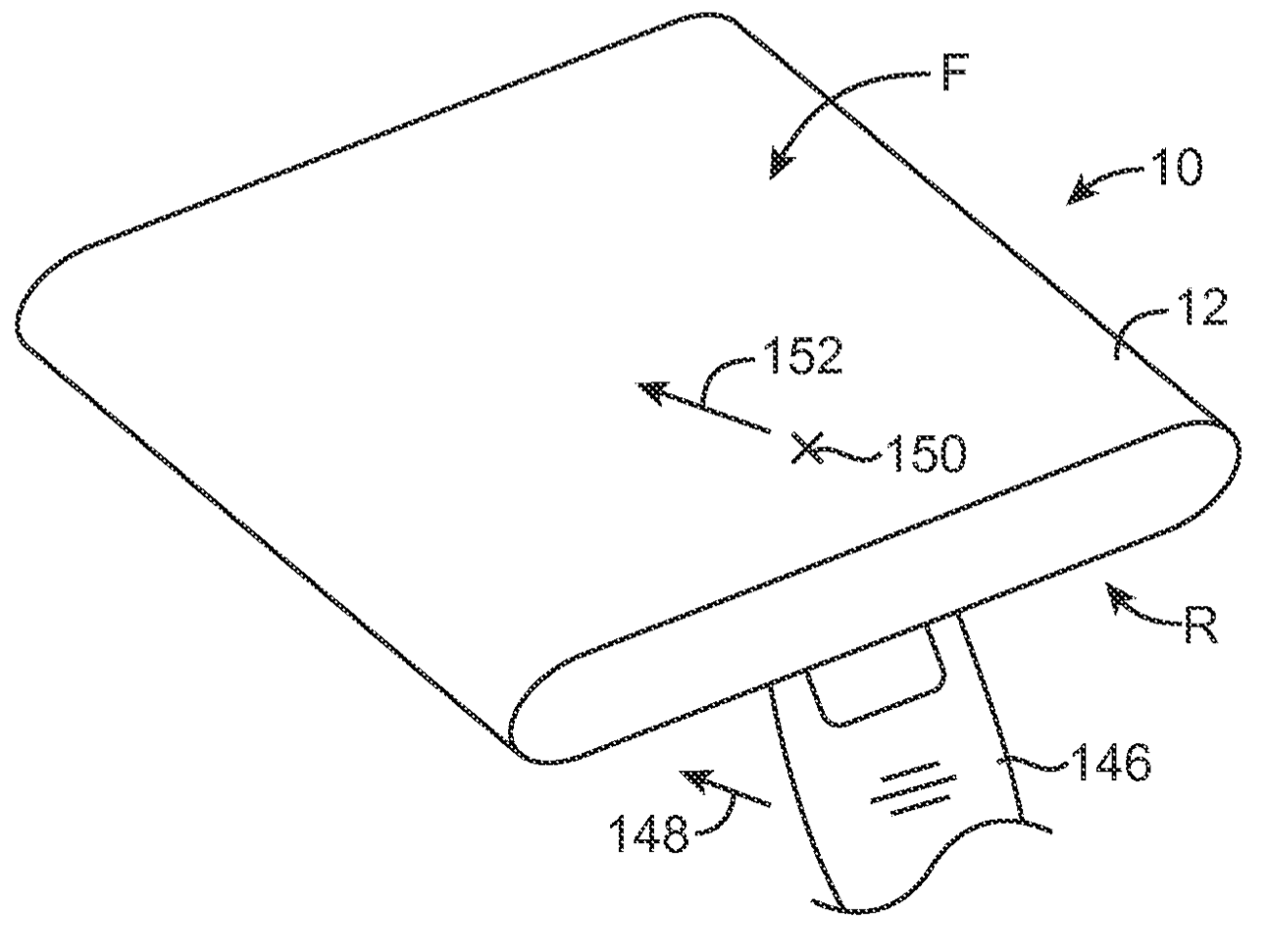
Objevil se další patent, ve kterém máme možnost vidět zahnuté hrany displeje, podobně jako to má Galaxy S6. Nejedná se však o úplně nový patent, ale o jemně vylepšené předchozí patenty zahnutého displeje, které má Apple zaregistrované v evropské databázi patentů. Pro vytvoření krycí struktury vypuklého displeje, může být použit například safír, nebo i jiné krystalické materiály. Tato krycí struktura by pokrývala část zahnutých krajů. K tomu, aby mohl být displej zahnutý, musí být použit pouze OLED displej, který je do určité míry flexibilní. Mezi obyčejnou vrstvou a safírem by nebyl žádný přechod. iPhone by navíc musel obsahovat další senzory, které získávají informace o rotaci zařízení a následně podle toho zobrazují obsah na hrany displeje.
*Zdroj: idownloadblog
ohnuty displej pravdepodobne bude, ale urcite nebudu ohnute hrany ako ma Samsung.
To nema nic spolocne so Zen dizajnom
Na keru pi…je už len toto dobre…
myslim že apple začne využívat ohnuté displeje jinde než u iphonů, tam to smysl nedává, ale u příslušencví, smart coveru, ano
dovedu si představit displej i jako řemínek apple watch, na apple pencil, nebo na volantu apple auta…
Pistak: viem si predstaviť presúvanie sa medzi appkami
Prosím hlavně ne žádný zahnutý display jako na Samsungu. Zkoušel jsem to a v podstatě jsem.neobjevil žádnou praktickou výhodu ba naopak. Prostě technická vychytávka, která je však pro běžné praktické využití k ničemu. Apple držte se prosím své koncepce akděte dál ve stopách Jobse a původních myšlenek Applu.
To Že Samsung neumí využít „zahnutý“displej neznamená žeje to k nićemu. Apple uměl vždy využít technologie po svém. Nevím proč se odvoláváte na Jobse. Navíc Samsung nemá opravdu zakřivený displej stejně jakosmysluplné bezdrátové nabíjení stejně jako nefunkční posouvání stránek očima atd.
A co patentují, vždyť mobil se zahnutým displayem už byl před lety představen.