Zavřít reklamu

S příchodem iPhonu 8 se pojí jedna nelibá událost. Apple odstraní po mnoha generacích Home Button s tím, jak se zvětší plocha obrazovky na téměř celou čelní část telefonu. Dlouhou dobu se tak hovoří o tom, jak to s oblíbeným Touch ID nakonec dopadne. Do dneška se psalo o několika variantách – některé počítají s tím, že se senzory pro Touch ID přesunou do samotného displeje telefonu, který tak bude jedním velkým senzorem, jiné zprávy považují tento bezpečnostní prvek za mrtvý s tím, že Apple přijde s něčím lepším. V poslední době se nejvíce hovoří o skeneru duhovky a 3D skenu obličeje. Nově uznaný patent Applu však naznačuje, že by tu s námi mohlo Touch ID ještě chvíli zůstat.

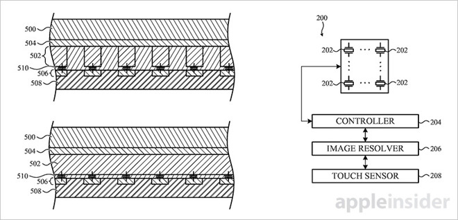
Informace o nově uznaném patentu zveřejnil server Appleinsider, který se mu podíval na zoubek. Patent se jmenuje „Acoustic imaging systém architecture“ a popisuje speciální metodu, která využívá konvenčních kapacitních senzorů (jako jsou v Touch ID) umístěných pod zobrazovacím panelem telefonu. Ty by měly fungovat jako jakési akustické snímače, skrze které by bylo možné lokalizovat stisknutí displeje.

Tyto snímače by měly umět generovat speciální zvukový signál, který dokáže proniknout skrze specifické překážky, tedy například ochranné sklo a displej telefonu. Součástí celého systému by pak byly senzory, které by snímaly zpětné odrazy těchto signálů. Za pomocí pokročilých technologií by se pak dal vytvořit jakýsi obraz, který by měl podobu například otisku prstu.

Celý tento systém by měl ovšem sloužit k vícero funkcím. Vzhledem k tomu, že by se nacházel po hranách mobilního telefonu, by mohl telefon snadno vyhodnocovat například to, jakým způsobem jej uživatel drží. Telefon by totiž přesně věděl, kde se nachází jaké prsty. S těmito informacemi by se dalo dále pracovat například adaptivním uživatelským rozhraním, které by se dynamicky měnilo podle toho, jak uživatel s telefonem zachází. Tato technologie by ve finále mohla nahradit také proximity senzory.

iPhone 8 cult of mac concept FB

Zdroj: Macrumors, Appleinsider

Dnes nejčtenější

.