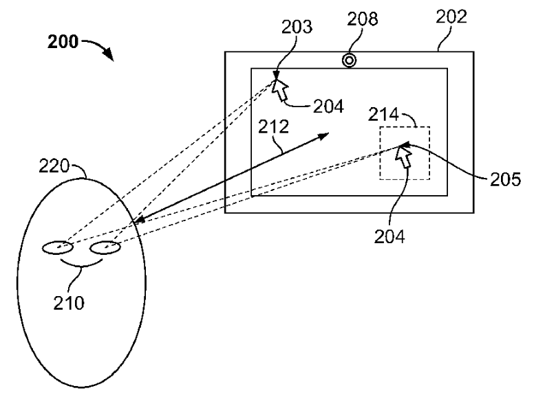
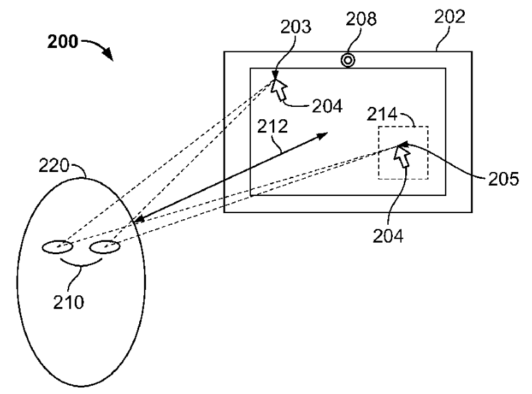
Apple získal patent na novú technológiu, ktorá zabezpečuje, že v budúcnosti by sme už nestratili kurzor na Macu z dohľadu. Zrejme každému sa už stalo, že pri práci s väčším monitorom ste sa zamerali na jeden bod obrazovky a to až tak, že sa kurzor jednoducho stratí a vy ho zúfalo hľadáte na 27-palcovom displeji. Je to vlastne Troxlerov efekt, ktorý spôsobuje optickú ilúzie, keď sa človek zamierava na jeden konkrétny bod obrazovky tak intenzívne, že ostatné časti obrazovky si prestáva uvedomovať a objekty mu jednoducho „miznú“ a chvíľu trvá, kým nájdete kurzor.
Môže sa to stať napríklad pri obsiahlom paneli nástrojov vo Worde alebo v iných aplikáciách, kde ste si položili myš na také miesto, aby ste mohli hneď kliknúť na určité tlačidlo, ktoré budete v danej chvíli často využívať (napríklad pravidelné používanie kurzívy) a nevedomky zavadíte o touchpad alebo myš tak, že sa tlačidlo posunie a vy zrazu zmačknete niečo úplne iné, než kurzívu. Potom chvíľu hľadáte kurzor (alebo s ním skôr začnete pohybovať po obrazovke) a keď ho nájdete, tak si ho zase nastavíte na pôvodné miesto. Patent Applu sa snaží bojovať práve proti tomuto a bude k tomu využívať FaceTime kameru. Tá by sledovala pohyb očí a v prípade, že by Mac zistil, že strácate pojem o prítomnosti ostatných objektov na obrazovke, dá vám upozornenie napríklad tým spôsobom, že časť, na ktorú by ste mali myslieť, blikne. Rovnako by mohol spôsobiť, že by zaznamenal oblasť, ktorú sledujete a presunul by vám do nej kurzor myši.
Mně by stačilo, kdyby mi v Yosemite nemizel kurzor doopravdy. Mají tam bug a čas od času prostě kurzor není. Odkazy se zvýrazňují, ale kurzor je neviditelný. Až když kliknu mimo aplikaci se kurzor objeví. Pánové z Cupertina – takovýhle základní bugy se dřív nestávaly! :(
No, ale funkci hledat kurzor, jak mají Wokna od roku 1994 by jako nějak pridat mohli …