Zavřít reklamu

Společnost Apple se stále snaží, aby její zařízení byla co možná nejvíce odolné proti vodě. Pořád tady je ale místo pro zlepšení, například v Lightning konektoru. Podle posledního patentu od jablečné společnosti se dozvídáme, že Apple právě na této problematice pracuje a snaží se Lightning port udělat voděodolným, aby nemohlo dojít k jeho poškození.

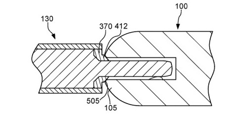
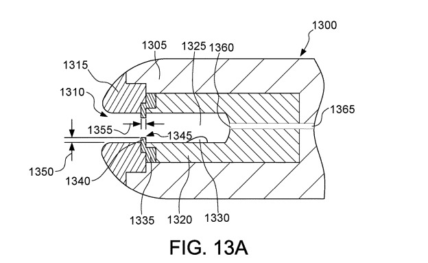
Poslední patent, který si Apple pro voděodolný Lightning konektor nechal zapsat, se zabývá několika možnostmi, pomocí kterých může Apple zamezit tekutinám dostat se k samotnému konektoru. Takovéto snažení navíc od Applu není žádnou novinkou, jelikož už v červnu tohoto roku si nechal patentovat patent s velice podobnou tématikou. Nejnovější patent se zabývá především tím, aby byl Lightning konektor voděodolný po zapojení nabíječky.

První řešení je klasické silikonové těsnění umístěné na kabelu, které po zapojení do Lightning konektoru zaručí, že se dovnitř nedostane žádná voda. Zajímavější je však vakuový generátor, který by po připojení nabíječky v konektoru vytvořil vakuum, čímž by se dovnitř nedostala ani kapka vody. Ještě více zajímavým řešením je nyní krytka, která je v normální poloze zavřená. Jakmile se však skrze ní pokusíte protlačit nabíjecí kabel, tak se otevře. Úplné nejlepší by bylo několik těchto řešení zkombinovat, například onu krytku společně s vakuovým generátorem, který by dokonce samotný kabel mohl přitáhnout k sobě, podobně jako u starého portu MagSafe.

Nákresy patentu si můžete zobrazit v galerii níže:

Stále se však jedná o pouhé spekulace a patenty, kterých si Apple zaregistruje ročně několik desítek. Je ale dobré vědět, že se Apple touto problematikou opravdu zabývá. Současná voděodolnost nejnovějších iPhonů je už tak na skvělé úrovni, avšak pořád je nebezpečné je nabíjet ve styku s vodou. Pokud by se do nových iPhonů podařilo dostat nějaké řešení, které by zamezovalo styku s vodou, jednalo by se zcela jistě o naprosto převratnou technologii. Na to si ale ještě budeme pár měsíců, ne-li let, počkat.

iphone-7-vodeodolnost-waterresitant-fb

Dnes nejčtenější

.