Zavřít reklamu

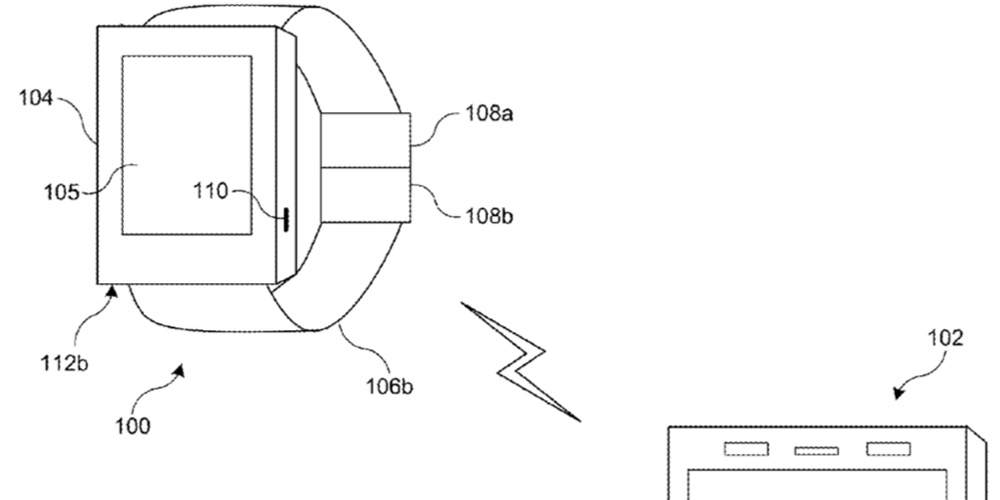
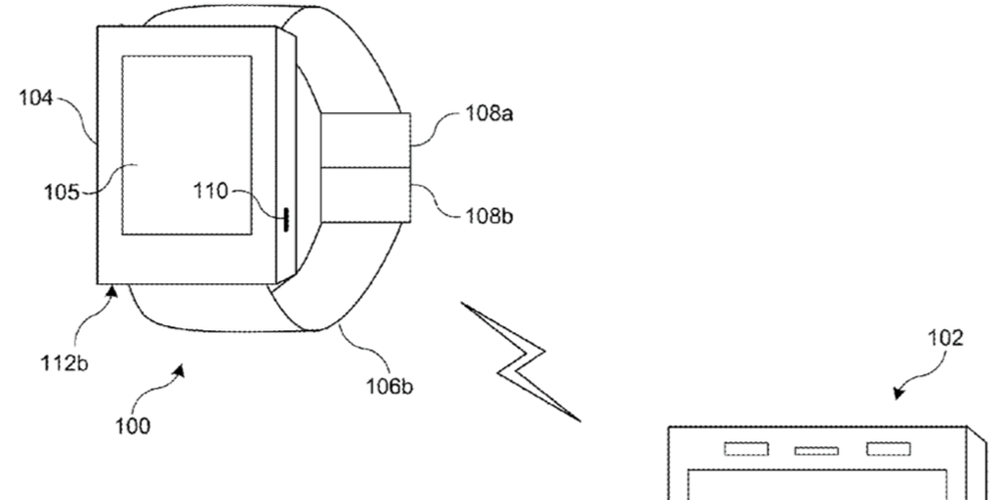
Upozornění na iPhonu by se mohla v budoucnosti automaticky ztišit nebo být hlasitější, a to v závislosti na hluku v okolí. To ukazuje dnes zveřejněná patentová přihláška, ve které figurují Apple Watch a iPhone, které pravidelně měří úroveň hluku v okolí a podle toho nastavují hlasitost upozornění na zařízení. Většina z nás si například hlasitost vyzvánění nastavuje sama, někdy však zapomeneme, nebo se nám nechce.

Požadovaná hlasitost se velmi liší podle okolí, je totiž rozdíl, zda je uživatel ve své kanceláři a iPhone má na stole, nebo je v přeplněném metru a má iPhone v kapse. Možná si říkáte, proč by to nemohl dělat sám telefon. Na to je jednoduchá odpověď. Apple Watch máte na své ruce a jsou tak stále v prostoru, vystavené okolnímu hluku, kdežto iPhone můžete mít v kapse, v tašce nebo třeba jen v krytu, tudíž by vše bylo zkreslené. Jinými slovy iPhone v kapse nebo v tašce nemůže přesně změřit hladinu hluku. Vše by tak naměřily vaše chytré hodinky, které by následně odesílaly data přímo do vašeho telefonu.

patent_apple_watch_iphone
Apple-Watch-neben-iPhone

*Zdroj: 9to5mac

Dnes nejčtenější

.