Zavřít reklamu

iPhone smoke detector
Dokážete si představit, že by váš budoucí iPhone dokázal fungovat jako detektor kouře? Apple to zamýšlí nebo alespoň to naznačuje nejnovější patent. Kromě iPhonů by detektor kouře mohly nabídnout i další produkty jako iPad nebo třeba iMac. Patent byl původně podaný už v roce 2013, ale teprve teď byl Applu schválen. 

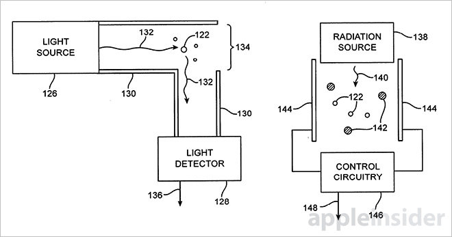
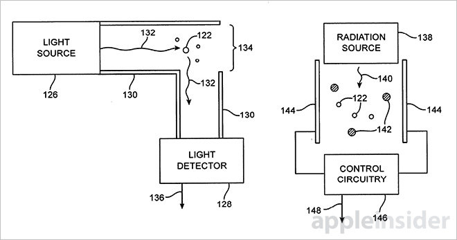
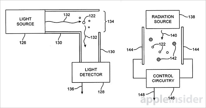
Apple vysvětluje, že by speciální snímač umístil v oblasti, kde je na zařízení reproduktor, konektor pro sluchátka nebo pro Lightning kabel. Snímač by tak lépe mohl zachytit kouř, který se do otvoru dostane a navíc by nebyl vůbec vidět. Uživatele by pak mohl varovat, že se něco děje a nebo dokonce v případě iPhonu automaticky zavolat nebo odeslat zprávu o pomoc.

iPhone jako přenosný požární alarm  má velkou výhodu v tom, že jej máte neustále při sobě, což znamená, že vám začne hlásit poplach v momentě, kdy to nejvíce potřebuje a také vás může chránit například v hotelech nebo na chatě, kam si sebou telefon automaticky berete.

Vzhledem k tomu, že Apple se v poslední době věnuje chytré domácnosti ve formě HomeKitu, tak by patent dával smysl. Je ale otázkou, zda i tento, jako mnoho patentů, nezůstane jen náčrtkem na papíře a zda ho v praxi vůbec uvidíme.

iPhone smoke detector
Dokážete si představit, že by váš budoucí iPhone dokázal fungovat jako detektor kouře? Apple to zamýšlí nebo alespoň to naznačuje nejnovější patent. Kromě iPhonů by detektor kouře mohly nabídnout i další produkty jako iPad nebo třeba iMac. Patent byl původně podaný už v roce 2013, ale teprve teď byl Applu schválen. 

Apple vysvětluje, že by speciální snímač umístil v oblasti, kde je na zařízení reproduktor, konektor pro sluchátka nebo pro Lightning kabel. Snímač by tak lépe mohl zachytit kouř, který se do otvoru dostane a navíc by nebyl vůbec vidět. Uživatele by pak mohl varovat, že se něco děje a nebo dokonce v případě iPhonu automaticky zavolat nebo odeslat zprávu o pomoc.

iPhone jako přenosný požární alarm  má velkou výhodu v tom, že jej máte neustále při sobě, což znamená, že vám začne hlásit poplach v momentě, kdy to nejvíce potřebuje a také vás může chránit například v hotelech nebo na chatě, kam si sebou telefon automaticky berete.

Vzhledem k tomu, že Apple se v poslední době věnuje chytré domácnosti ve formě HomeKitu, tak by patent dával smysl. Je ale otázkou, zda i tento, jako mnoho patentů, nezůstane jen náčrtkem na papíře a zda ho v praxi vůbec uvidíme.

14087-9310-150901-Smoke-3-l
14087-9309-150901-Smoke-2-l
14087-9308-150901-Smoke-l

sense_01
*zdroj-obrazek: yankodesign

*zdroj: appleinsider

Dnes nejčtenější

.