Zavřít reklamu

Zatímco spousta konkurenčních výrobců již několik let s větším či menším úspěchem uvádí na trh skládací smartphony, u Applu je zatím vše stále ještě ve stádiu nejrůznějších spekulací. Podle nejnovějších zpráv to nicméně vypadá, že namísto skládacího iPhonu přijde něco trochu jiného.

Apple v současné době zaostává za ostatními výrobci chytrých telefonů, protože zatím nemá svůj vlastní „iPhone Fold“, ale neustále se o to podle dostupných zpráv snaží – údajně má dokonce několik prototypů. Kromě toho má však také celou řadu dalších zařízení, která by mohla mít prospěch z obrazovky s větší flexibilitou. Již dříve se na internetu objevily zprávy o tom, že by skládací iPad mohl v roce 2026 nahradit iPad mini. A Apple také údajně uvažuje o výrobě skládacího MacBooku Pro. Zatímco v těchto případech a všech předchozích spekulacích bylo klíčovým slovem „skládací“, tentokrát by Apple mohl mít v záloze něco tak trochu jiného. Nově zveřejněná patentová přihláška ukazuje, že Apple alespoň velmi intenzivně uvažuje o natahovacím displeji.

Skládací nebo natahovací displej?

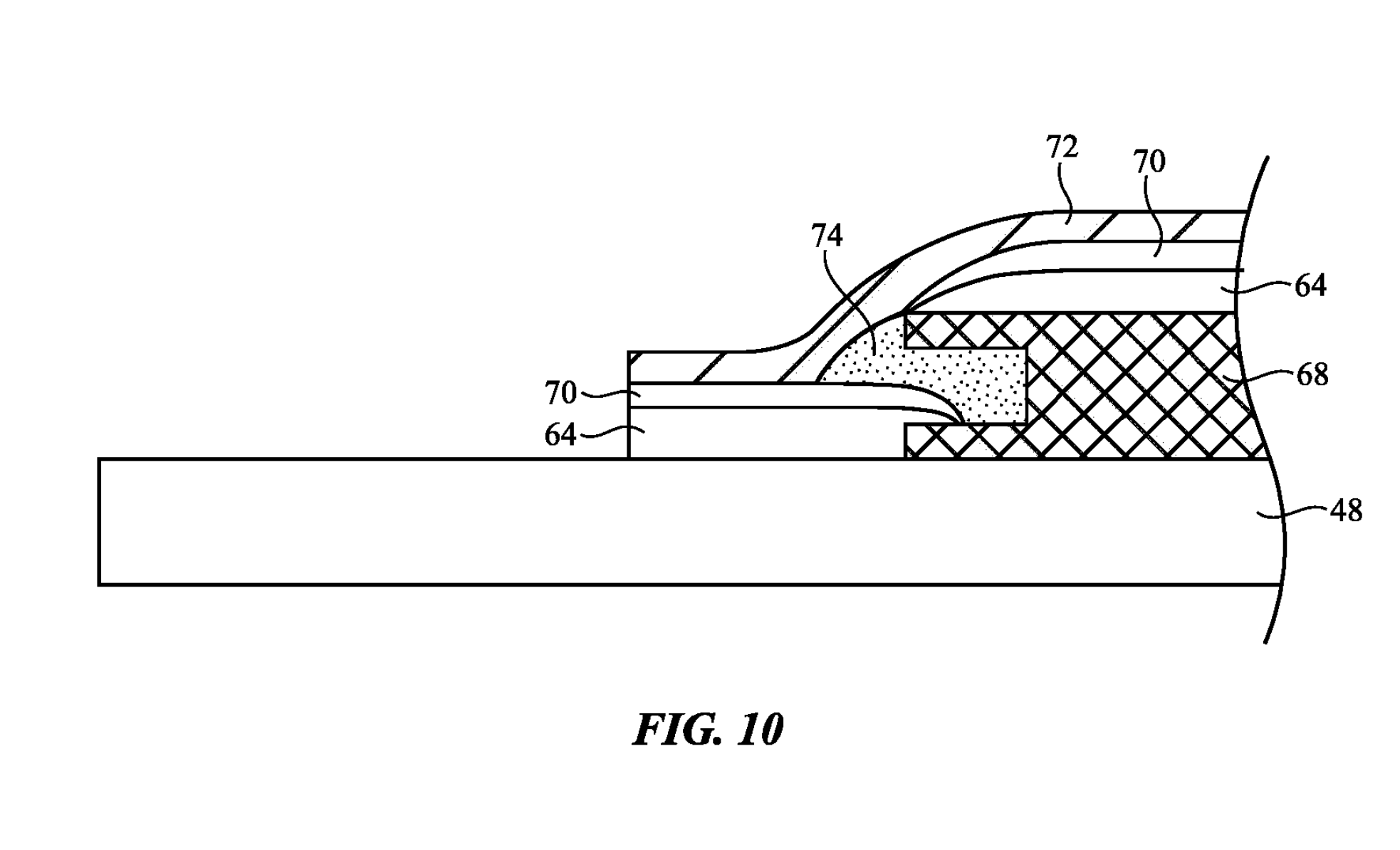
Patentová přihláška s názvem „Stretchable Display“ je uvedena na jméno neobvykle a dokonce i mimořádně vysokého počtu vynálezců. Místo obvyklého rozmezí 1 až 10 vynálezců je v tomto případě uvedeno hned 55 lidí. Většinou sídlí v Kalifornii nebo na Taiwanu, kde má Apple své výzkumné centrum. Jsou také pozoruhodně struční – samotná patentová přihláška obsahuje 13 obrázků a pouhých 22 stran. Tyto stránky se však zaměřují na detaily ohledně displeje s „natahovací částí s hermeticky uzavřenými pevnými ostrůvky pixelů“. Celá patentová přihláška obsahuje jen málo příkladů toho, jak by se natahovací displeje mohly používat. Existuje několik návrhů, počínaje tím, jak chce Apple, aby patent pokrýval všechny typy zařízení, na která by mohl být použit. Patentová přihláška tedy platí pro přenosný počítač, mobilní telefon i pro více než tucet dalších zařízení, mezi kterými figurují i nositelná zařízení jako náramkové hodinky nebo dokonce přívěsky.

Stejně jako vždy je účelem patentu spíše popsat, jak by něco mohlo být provedeno, než co by se s danou technologií mohlo dít dál. Může to být tedy jen dohad, ale můžeme si představit různé případy, kde by byl natahovací displej mnohem výhodnější než skládací. Například by iPhone Fold mohl mít skládací obrazovku uvnitř, ale vnější by byla natahovací. Už dlouho také kolují zvěsti o HomePodu s displejem. Obvykle se předpokládá, že by HomePod měl hranatý design namísto současného válcového, ale Apple již dříve zkoumal displej, který by se efektivně obtočil kolem zařízení. Podobně by tato technologie natahovacího displeje mohla řešit další z cílů Applu – v roce 2023 se objevily informace, že Apple chce vyrobit displej pro Apple Watch, který by se omotal kolem celého zápěstí. Nicméně i zde je nutné mít na paměti, že se v současné době jedná pouze o patentovou přihlášku. Apple si každoročně podává žádosti o tisíce patentů a ne všechny jsou mu schváleny. Navíc ani v případě schválení patentu není zaručeno, že se jeho návrhy někdy objeví v komerčně dostupném produktu.

Dnes nejčtenější

.