Spekulací ohledně skládacího iPhonu bylo nespočet. V podstatě od chvíle, kdy konkurence vydala skládací iPhone, hádá se, zda s nějakým podobným řešením přispěchá také Apple. Nespočet patentů poukazuje na skutečnost, že nad tímto nápadem Apple opravdu přemýšlí. Nicméně se možná vydá jinou cestou. Podíváme-li se na současné „skládačky“, lze jim vytknout stále ještě viditelná rýha v displeji. Ta rozhodně nevypadá nejlépe. A hlavně je zde riziko, že se časem displej v ohybu poškodí. Primárním benefitem skládacích smartphonů je skutečnost, že v malém těle nesete zároveň i velký displej. Podle nového patentu Applu lze ale této vlastnosti docílit i jinak.
Mohlo by vás zajímat
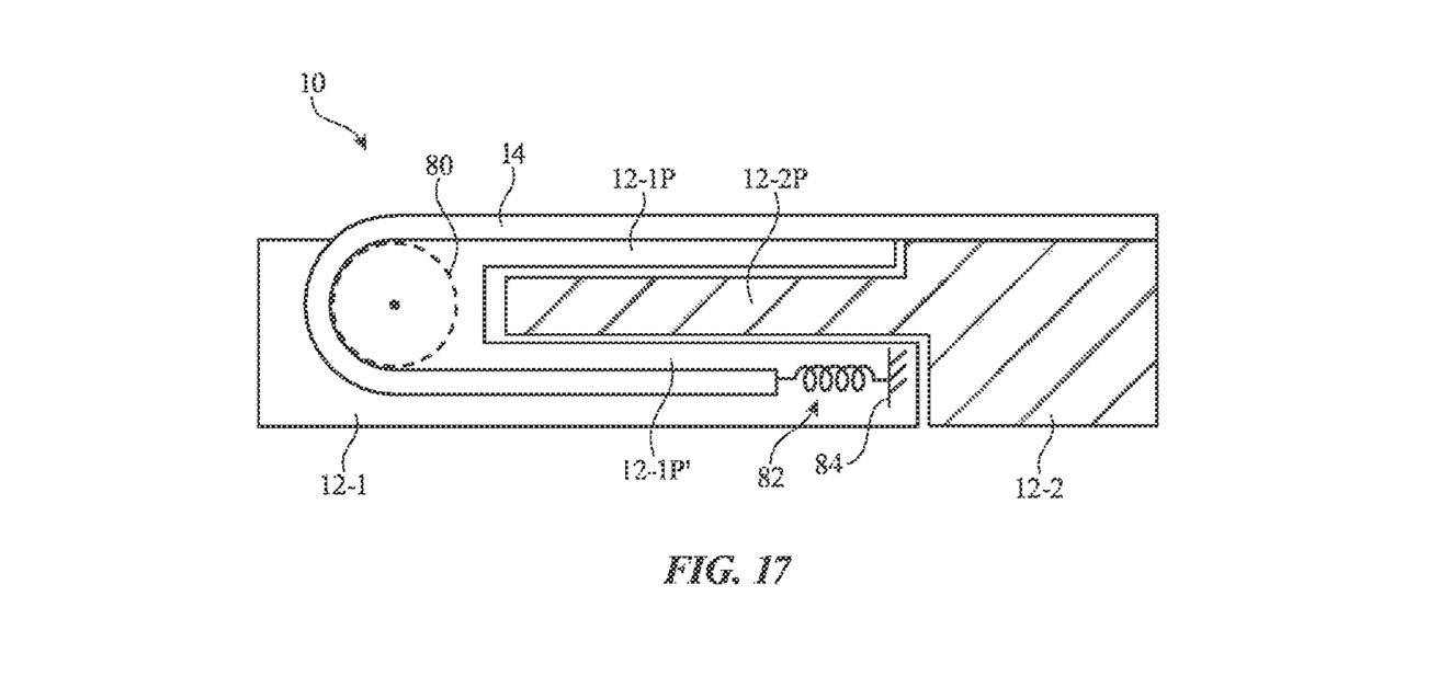
Nový patent hovoří o rolovacím displeji. Tedy že byste zkrátka a dobře displej iPhonu roztáhli. Jakmile byste jej zase zatáhli, sroloval by se do těla iPhonu v podstatě jako jakýsi pergamen. Displej bude samozřejmě použitelný při obou režimech a uživatelské prostředí se upraví dle toho, v jakém režimu displeje se iPhone momentálně nachází. Samotná obrazovka je vyrobena z ohebného substrátu a zmiňuje se o tom, že obsahuje flexibilní OLED displej. Je ovšem třeba dodat, že Apple má celou řadu patentů a mnohé z nich nemusí nikdy uvést v život. V současné době zní podobné řešení ze strany Applu jako docela sci-fi. Otazník visí také nad tím, kolik by si Apple za takové řešení účtoval. Grafickou podobu patentu můžete vidět pod odstavcem.
Nic nového😞. Rolovací displeje už na trhu sou nějako dobu.
Vyjmenuj pět zařízení….jedeš:
To je tak obří revoluce, že zatímco Apple má nákresy, konkurence už testuje fyzická zařízení.
A ty si opravdu myslíš, že Apple, firma se neomezenými zdroji ne?
S neomezenými zdroji ne ale penězi jenom překypuje ($89,5 miliard za Q4). Sám vlastním akcie Applu což jsou z pohledu celkové hodnoty sotva drobky. Ale musí se uznat, že Apple se pohybuje s inovacemi pomalu má svůj způsob vydávání produktů a to je v pořádku. Problém je, když se takto začnou chovat všichni viz Samsung který doslova zlenivěl a taktéž nevidíme žádný pořádný generační pokrok. Částečně se to dá přisoudit tomu, že telefony dosáhly jakési perfektní formy a i z části nedokonalé konkurence na trhu.
Přesně tak, Apple je dávno jinde, už prý testuje nativní appku kalkulačka do iPadu a to bude teprve mazec!
Ne Dane to vy jste přece jinde, vy jste vybudoval firmu co vydělává v čistém zisku 200 miliard dolarů ročně, to vy…. vy jste ze 100 vašich zaměstnanců udělal dolarové miliardáře, to vy. Vy jste dokázal mít nejprodávanější produkty nasvětě, to vy. Vy jste vybudoval nejhodnotnější společnost světa, to vše vy Dane, to ne Apple.
Romane, bez urážky, aniž bych se chtěl dotknout Vás nebo vašeho ega, na mě působíte jako materialisticky založený člověk, který naprosto všechno v životě přepočítává na peníze. Priority, tak jak je máte nastaveny Vy, jdou absolutně mimo mě. Peníze neřeším, jsem zajištěný, mám vše co potřebuju. Něco Vám řeknu, život není jen o penězích a rubáš kapsy nemá ;)
Ok tak Dane jinak: To vy jste zachránil život desítkám lidí, protože to vy jste vymyslel Apple Watch a SOS funkci. To díky vám lidé sportují, protože jste vymyslel fintess+, to vy jste dokázal dát práci více než 50 000 zaměstnancům, kteří díky vám mají na chleba. To vy jste dokázal dát miliardy dolarů na charitu. To vy, to ne Apple, to ve všem jste borec vy…. teď to není o penězích, tak čekám další duchaplné vyjádření :D a nebojte, že by se mě anonymní človíček hanící nejhodnotnější firmu na světě dotkl, to se fakt bát nemusíte :D
Teď mi zas podsouváte něco, co jsem nikdy neřekl. Kdybych sám nebyl přesvědčený o kvalitě výrobků Applu, tak od nich nemám téměř vše z jejich portfolia. O hanění nemůže být řeč, jedna malá drobná konstruktivní kritika a Vy se toho s gustem hned chytnete.