V poslední době se všeobecná pozornost upíná především k chystanému novému iPhonu 8/X, kterému mnozí analytici předpovídají možnost bezdrátového nabíjení. V plánu je ale také třetí generace chytrých hodinek Apple Watch Series 3. Jak to u nich bude s možnostmi nabíjení?
Nabíjení chytrých hodinek od Applu není sice zrovna extrémně komplikované, kontaktní body na hodinkách ale vyžadují relativně precizní umístění, aby měl uživatel jistotu, že k nabíjení dochází tak, jak má, a že je jeho proud dostatečně konzistentní. Nyní to vypadá, že se společnost Apple pokouší zlepšit možnosti nabíjení svých budoucích hodinek. Leccos napovídá nejnověji objevený podaný patent, naznačující, že pohodlí při nabíjení by mohlo být pro Apple prioritou.
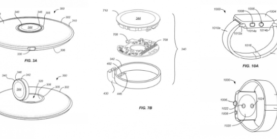
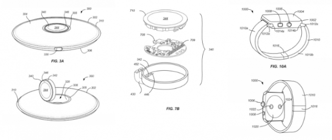
Patent, podaný u patentového úřadu Spojených států amerických, popisuje metodu, díky které by zařízení – konkrétně kus nositelné elektroniky – mohlo být plnohodnotně nabíjeno bez ohledu na způsob, jakým je umístěné na své nabíjecí základně. Prvky patentu naznačují, že by mělo být možné hodinky nabíjet jak zavěšené, tak i naplocho položené nebo na straně zařízení.
Mohlo by vás zajímat
Pokud patent bude realizován, potěší výsledek zejména ty, kteří své Apple Watch odkládají například na noční stolek – díky zařízení se hodinky promění ve skvělý budík, na který bude vždy snadno vidět i v případě, že jsou hodinky zrovna ve fázi nabíjení. V současné době existují pochopitelně podobná řešení od jiných společností, Apple puristé však originální nabíjecí stojánek přímo od Applu jistě uvítají.
Zdroj: TechRadar
Watchky nemají kontaktní plošky, které by se měly někam umístit. Jen se plácnou na nabíječku a magnet si je přichytí.
Stojánek z patentu se prodává Apple jako Magnetický nabíjecí dok pro Apple Watch za 2390.
Bez něj i s ním hodinky fungují jako skvělý budík. Při připojení na nabíječku a položení na bok se přepnou do nočního režimu. Nesvítí pořád, ale k rozsvícení stačí ťuknout do stolku a hodinky se rozsvítí.
Presne ako píše Zabak.
Sú to pre Apple fanúšikov veľmi známe informácie. Buďto mi teda niečo uniká, alebo pani redaktorka ani nevie o čom píše.