Zavřít reklamu

Apple aj dnes získal ďalší zaujímavý patent, ktorý môže naznačovať príchod plnohodnotného iOS zariadenia s ohybným displejom v nasledujúcich rokoch. Nové zariadenie, ktoré sa však v databáze patentov kalifornskej spoločnosti objavilo, veľmi zreteľne pripomína iPhone, ktorý disponuje väčším displejom, a zároveň je ochudobnený o fyzické tlačítka, vrátane ikonického Home Buttonu, ktorý sa najnovšie stal tiež súčasťou iPodu nano 7. generácie. Samotný telefón s ohybným displejom môže až veľmi pripomínať iPod nano 4. a 5. generácie.

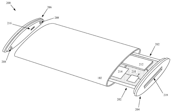
Dizajn po vzore spomínaného prehrávaču však nie je jediným návrhom. Apple totiž v patente obsiahol niekoľko ďalších nákresov, ktoré však bližšie nepopísal. Patentované zariadenie by pozostávalo z priehľadného tela, ktoré by po svojom obvode obsahovalo väčší dotykový displej, ktorý by bol podľa patentu schopný na prednej strane zobraziť až 5 ikon na šírku, obsiahnuté zrejme v 7 riadkoch vrátane docku. Telo zariadenia nedisponuje žiadnymi fyzickými tlačítkami, pričom ovládacie prvky sú vyobrazené na jednej z bočných strán displeju. Prístroj by v tomto prípade bolo možné používať z oboch strán, a Apple tiež nevylučuje ani možnosť zobrazovania 3D obsahu. Práve pre takýto prípad by sa v tele nachádzal ďalší ohybný displej, s pomocou ktorého by obsah bolo možné zobraziť.

Zaujímavosť na záver? Apple tiež v patente pripomína, že z tela prístroju by bolo možné odpojiť vrchnú a spodnú časť, vďaka čomu by bolo možné zariadenie jednoducho prepojiť k sebe niekoľko takýchto zariadení, čím by došlo k vytvoreniu jednej väčšej obrazovky.

iphone_wraparound_display_1

iphone wraparound display 3

iphone wraparound display 2

*Zdroj: MacRumors

Dnes nejčtenější

.