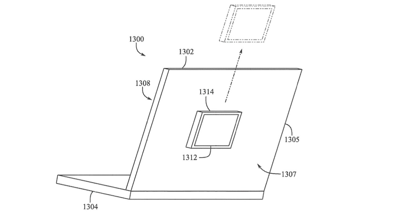
Fotoaparát na MacBooku Pro je dlouhodobě považován za jednu z jeho slabších stránek. A to zejména ve srovnání s iPhonem. Apple ale zjevně nechce zůstat pozadu a podle nově uděleného patentu hledá odvážné řešení. Větší kamery s možností natočení nebo dokonce odpojení a přesunutí. Patent s názvem „Camera integration for portable electronic devices“ ukazuje, že Apple zvažuje modulární přístup ke kameře, která by mohla vystupovat z těla zařízení a být upevněna pomocí magnetů. A to buď v horním výřezu displeje, nebo zcela mimo něj, třeba na zadní straně víka. V dokumentu se dokonce mluví o dvou kamerových modulech, které mezi sebou mohou komunikovat.
Zásadní přitom je, že Apple v návrhu počítá i s otočným displejem. Uživateli by to umožnilo přesně nastavit, který z kamerových modulů bude v danou chvíli aktivní. A pokud by Apple dokázal displej od těla notebooku úplně odpojit a opět připojit v jiné orientaci, otevíralo by to nové možnosti pro kreativní použití zařízení (třeba při natáčení rozhovorů nebo streamování z více úhlů). Celý koncept je v ostrém kontrastu s minimalistickým designem současných MacBooků. Ale právě silnější důraz na funkčnost (například díky přídavným kamerám s LiDAR senzorem) by mohl Apple posunout blíže profesionálním tvůrcům. Nezbývá než říct, že Apple vlastní nepřeberné množství patentů, z nichž většina nikdy nespatří světlo světa. Jestli se tedy někdy podobného řešení dočkáme ukáže až čas. Okolo MacBooků ale může být v budoucnu pěkně rušno.
Koho ta kamera oddělá? Uživatele? Jo kdyby byla odnímací…