Pomyslným technologickým vrcholem jsou dnes zřejmě skládací smartphony. Jak se ale ukazuje, tato technologie ještě vyžaduje doladění. Příkladem budiž Samsung s jeho skládacím smartphonem Galaxy Fold, který se redaktorům a recenzentům poškodil už po pár dnech používání. Samsung tedy vydání mobilu odložil a snaží se problémy s displejem vyřešit. Skládací smartphone představil i Huawei a osobně mohu říct, že se mi líbí o něco více.
Mohlo by vás zajímat
Proslýchá se, že na něčem podobném pracuje i Apple. Diskuzi rozvířila další patentová přihláška, která byla tento týden zveřejněna Americkým patentovým úřadem. Jak je u Applu zvykem, myšlenku skládacího zařízení posouvá ještě dál. Zatímco prozatím představené skládací smartphony využívají jakýsi mechanický kloub, Apple myslí kromě flexibilního displeje i na ohebnost samotného krytu.
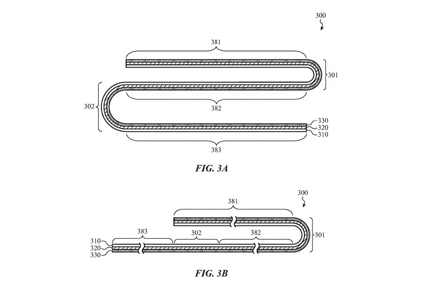
Grafická podoba patentu:
Grafické návrhy patentu ukazují, že by jablečná zařízení mohla být časem složitelná do písmene S nebo písmene G. Zařízení by tedy mělo hlavní část a jakési dvě displejová křídla. Pro zvětšení displeje by pak stačilo rozložit jen jednu část. Pro lepší představu doporučujeme nahlédnout do galerie.
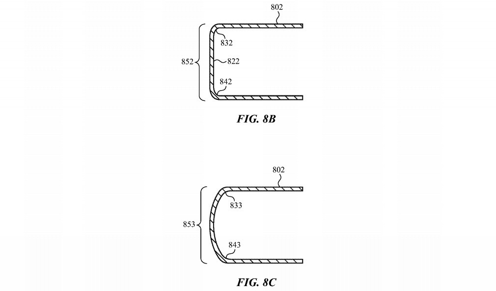
Patent dále hovoří o materiálech a technikách, které by mohly být použity při výrobě. Nejčastěji je zmiňováno sklo, safír, zirkon a keramika. Apple samozřejmě myslí na design a v patentu popisuje, jak opracovat materiál, aby měl dokonale hladký povrch. Tato technologie by mohla být v budoucnu užita nejen pro iPhony a iPady, ale i Macy.
Mohlo by vás zajímat
Během posledních měsíců je to už několikátý patent zabývající se ohebným zařízením. Nelze si tedy nemyslet, že Apple nad skládacím jablečným zařízením skutečně uvažuje. Je třeba říct, že se jedná o patent, který nikdy nemusí být použit. Pokud Apple skutečně vydá ohebné zařízení, rozhodně si nemyslíme, že se tak stane v dohledné době. Tento trend je teprve na začátku a Apple si rozhodně počká, až se všechny problémy vychytají. Otázkou také je, kolik by asi ohebný iPhone v dnešní době stál.
6ka už snad byla ohebná ne?
Ano byla ohebna 6. Byl predvoj :-D
Ten foťák 🤦♂️🤮 čím víc fotaku,tím víc telefon 🤷♂️
Safir? Ten pravy, nebo cinska napodobenina?