Jedním z nejočekávanějších projektů společnosti Apple je určitě Apple Car. Tedy autonomní vozidlo, kterého se dočkáme snad někdy v příštích pěti letech. Apple vlastni v souvislosti s tímto projektem již několik patentů. Americký patentový úřad v těchto dnech oznámil dva další, které pojednávají o průhlednosti skel a konfiguraci dveří.
Mohlo by vás zajímat
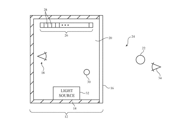
Tu a tam narazíte na vůz se zatónovanými skly, které mají za úkol zabránit kolemjdoucím nahlížet do interiéru vozu. Na ochranu soukromí myslí tímto způsobem i Apple, jen o něco inovativněji. Patent se nazývá „Systém vnitřního osvětlení“. V jednoduchosti se jedná o sklo, které je pokryto pásmovým filtrem reagujícím na vlnovou délku světla v interiéru vozu. Při použití vnitřního světla o delší vlnové délce by bylo do vozu bez problému vidět. Naopak použití světla o kratší vlnové délce v interiéru vozu by zabránilo lidskému oku do vnitřních prostor vozu z venku nahlédnout. Vnitřní osvětlení by sestávalo s několika LED diod různých barev k dosažení kýženého efektu. Uživatel by samozřejmě mohl volit režim dle své libosti.
Druhý patent popisuje otevírací mechanismus předních a zadních dveří vozu. Dveře u řidiče/spolujezdce by byly připevněny k přední části vozidla. U zadních sedadel by byly dveře připevněny k zadní části vozu. Dveře by se tak otevíraly na „svou“ stranu a při výstupu či nástupu by tak nestálo naprosto nic v cestě. Tento patent tak bohužel nenabízí žádnou technologickou vychytávku, jde jen o způsob umístění kloubů dveří. Grafický nákres je v galerii pod tímto odstavcem.
Jak vždy u podobných článků píšeme, jedná se o patent, který nemusí být nikdy použit. V souvislosti s Apple Car bylo možno se seznámit už s opravdu velkým množstvím patentů. Zda se nějaký dostane do jablečného vozu se dozvíme snad už za pár let.
Výrobce e automobilů bude v budoucnu i Nivea a podobně 😳🤦🏻♂️
Určite to nebudú Windows ale nejake iglass
tak hlavně aby to mělo T2 chip, aby i ventilky na kolech musely být origo apple