V posledních letech Apple usilovně pracuje na autonomních vozech, které spadají pod projekt Titan. Aby byly co možná nejbezpečnější, musí si na cestách poradit s řadou faktorů a v sekundě vyhodnotit ty nejrůznější situace. Přesně o tento problém by se mohl postarat nově vydaný patent, který popisuje zcela nový algoritmus. Ten by podle dat ze senzorů rozhodoval v nejrůznějších situacích za zlomek sekundy.
Prohlédněte si popsané snímky zveřejněné spolu s patentem:
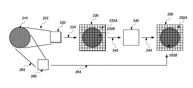
Patent by fungoval tak, že by systém pro zpracování dat dostal informace ze senzorů vozidla, na jejíchž základě by generoval co nejkomplexnější reprezentaci okolí. Systém by taktéž využíval pasivních senzorů, mezi kterými by mohly být obyčejné kamery a nebo například zařízení LiDAR. Tato data by se posléze porovnávala s předem vytvořeným modelem a podle výsledků by docházelo k vyhodnocování situace. Ve zkratce to znamená, že zmiňovaný model bude podle dat ze senzorů během jízdy neustále upravován, díky čemuž bude samotný automobil schopen co nejlepší a nejbezpečnější jízdy.
Takto Apple používá LiDAR na SUV vozidlech:
Tohle řešení by Applu mohlo ušetřit mnoho peněz a materiálu a dokonce samotná jízda by se oproti jiným možnostem stala navíc bezpečnější. Systém by taktéž mohl využívat strojového učení, díky čemuž by se během používání neustále vylepšoval a případně se poučil ze svých chyb.
Mohlo by vás zajímat
Jelikož však Apple zveřejňuje nové patenty skutečně často, existuje dost velká šance, že se zrovna tento své realizace ani nedočká. V současné situaci nám nezbývá nic jiného než čekat, jak projekt Titan bude ve výsledku vůbec vypadat. Rozhodně se však máme na co těšit.
Fascinujici, co vsechno si patentovy troll Apple dovoli ve sve drzosti patentovat.
To co je popisovano je v kostce obsah predmetu „Teorie systemu“ (to jsou ty modely updatovane informacemi zvenci), „Pocitacove videni“ (rozpoznavani okoli na zaklade dat z optickych a jinych senzoru) a „Umela inteligence“ (strojove uceni).
Tyto predmety jsem studoval na FEL CVUT v ramci oboru Technicka kybernetika a umela inteligence u profesora Marika v letech 1997-2001.
A uz tenkrat jsme tam ridili mobilniho robota, schopneho se vyhnout prekazkam v mistnosti. Nyni jsou dal, ted se delaji souteze robotickych fotbalovych „muzstev“, problematika je dal na urovni kooperace nezavislych jednotek.
Apple by si mohl este treba patentovat scitani, nebo pythagorovu vetu, at je to dokonale.
Takze jsi vystudoval zaostalej predmet bravo!
Logiku v tomhle vykriku do tmy asi nema cenu hledat, co?
To je hnus fialový tak koukám že ty nové auta jsou čím dál tím hnusnější mě to příjde že se ty návrháři v tom nevkusu předhání kdo nakreslí nejhnusnější model auta ten vyhraje
tam žádné nové auto není :D