V poslední době je čím dál více slyšet o tom, že by budoucí generace AirPods mohly snímat některé životní funkce svého uživatele, a nebo dokonce pomáhat v samotném cvičení. Před pár dny se dokonce objevil další patent z března roku 2018, který se zabývá automatickou detekcí cvičení, jako je tomu u Apple Watch. Pojďme se na něj tedy společně podívat.
Snímky zveřejněné spolu s patentem:
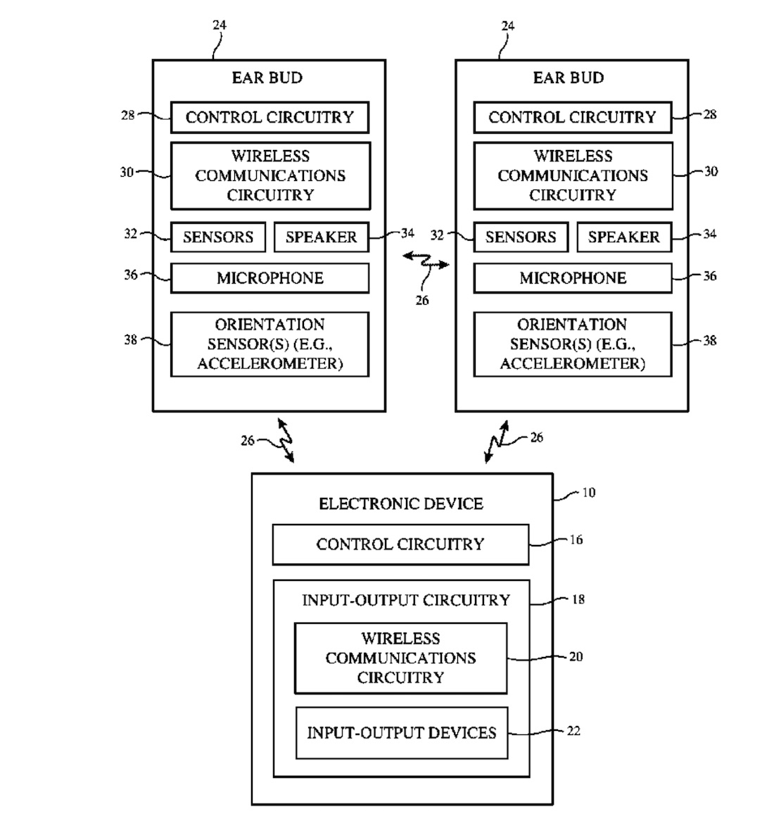
AirPods by ve spolupráci s touto technologií byly samy schopny detekovat, zdali je jejich uživatel v pohybu. Na základě toho bychom mohli dokonce dostávat přímo do uší něco jako trenérské rady, nebo zpětnou vazbu o našem aktuálním cvičení. Samotná technologie by fungovala na bázi opakovaných pohybů hlavy, kdy se například v opakovaných intervalech předkláníme či zakláníme. Zpětná vazba by však nebyla pouze audio stopa, která nám zazní v uších, ale veškerá data by se ukládala a my bychom posléze měli vcelku slušný přehled o právě konané aktivitě. Jak si na výše přiložených snímcích můžete povšimnout, sluchátka ze samotného patentu úzce připomínají AirPods. Apple by však mohl tuto technologii překovat i do svých sluchátek řady Powerbeats, které spadají pod značku Beats a plně se soustředí na fitness uživatele.
Pokud se podíváme například na Apple Watch, tak ty jsou již od operačního systému watchOS 5 schopné automaticky detekovat, zdali jejich uživatel právě cvičí. Kdybychom je zkombinovali s takovýmito pokročilými sluchátky, dostali bychom se k vcelku slušným grafům o našich aktivitách.
Mohlo by vás zajímat
Aktuálně taktéž Apple častokrát vydává patenty o sluchátkách, která by dokázala snímat srdeční tep. Tento krok by nebyl ani natolik nereálný, jelikož již doposud zvládlo tuto technologii implementovat hned několik konkurenčních značek. Zdali se v budoucnu takovýchto vychytávek skutečně dočkáme je prozatím nejasné, avšak přiznejme si, že bychom je v roce 2020 uvítali všichni.
Budou ukazovat čas?
Sranda je, ze Airpody niesu odolne voci potu ci vode. Takze tu by som zacal na ich mieste :-)
jak si můžou patentovat něco, co má samsung v těch svejch špuntech už čtyři roky?
Hodinky maji EKG a pry zachraňují životy (!?!). Takže sluchatka nahradí ušní (ORL) a vyléčí nedoslychavost. Jo, a budou přes uši přidávat IQ 😁
Tie funkcie budú opäť dôvodom na zvýšenie ceny. Samsung tieto funkcie mal v dvoch generáciach IconX, až nakoniec tieto funkcie u Buds vyhodil a znížil cenu.
Podle me apple je v prdeli. Ackoliv takovy patent nic neznamena, maji jich desitky dene
Siri mi bude vravieť, že už moc dlho sedím!
Pokud vím, tato funkce jde vypnout, tudíž netuším, na co narážíte ? 🤔