Zavřít reklamu

Apple myslí na zdraví, pohyb a zdravý životní styl svých uživatelů čím dál více. Ukázkovým příkladem jsou Apple Watch, které jsou skvělým parťákem pro sportovní aktivity. To ale Applu dle všeho úplně nestačí. Patent zveřejněný Americkým patentovým úřadem poodhalil, jak by mohl workout v podání Applu v budoucnu vypadat. Ke spolehlivému měření tělesných funkcí by mohla stačit pouze sluchátka AirPods.

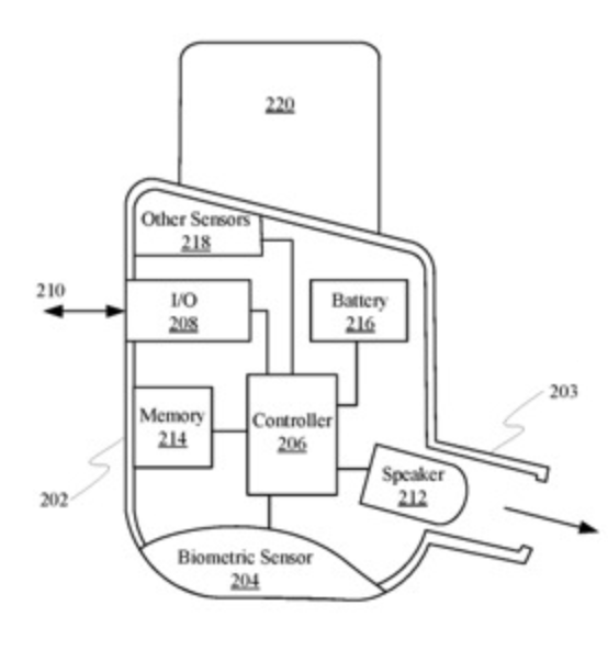
Patent se nazývá „Sluchátka s kompatibilním členem“ a popisuje, že by v budoucnu v AirPodech mohly být zabudovány různé nástroje pro biometrická měření. Počítá se například s photoplethysmogramem (PPG), který je znám i z Apple Watch. Jde o pokrytí pokožky paprskem světla a následném provádění různých biometrických měření.

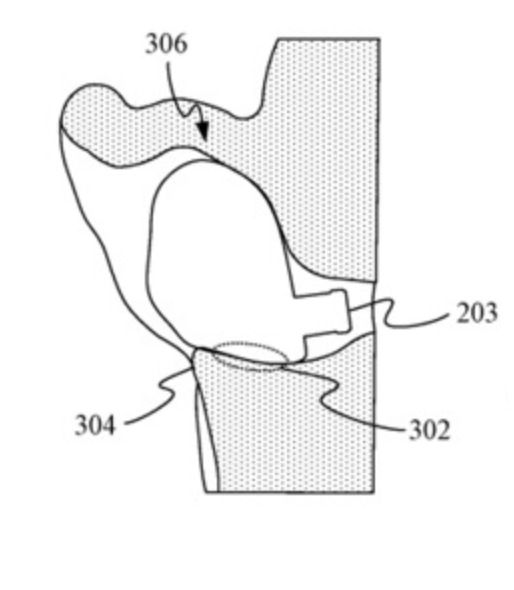
Aby taková technologie fungovala, je třeba, aby byl senzor v kontaktu s pokožkou. To může být u sluchátek problém, jelikož primárním úkolem sluchátek je přehrávání hudby. Je tedy třeba sluchátko do ucha správně umístit. Apple navrhuje sledování tělesných aktivit tak, že by byl senzor PPG na sluchátkách v uchu vložen na tragus, což je část pokožky umístěná před ušním kanálem. Takové umístění by mělo uživateli poskytnout dostatečné pohodlí a zároveň spolehlivě měřit tělesné funkce.

Alternativní varianta počítá s jakousi pěnovou vložkou umístěnou na sluchátku samotném. Tato vložka by v uchu přicházela do kontaktu s jiným záhybem ucha zvaným antihelix. Tlakem s tímto místem by se vložka zmáčknula a senzory v ní by byly schopny tělesné funkce měřit. Tato varianta by mohla být lepší cestou, jelikož ucho nemáme každý stejné. Samotná vložka by navíc mohla být vyměnitelná.

Grafické vyjádření patentu:

Ačkoliv zní popis patentu senzačně, v blízké budoucnosti se takové technologie zřejmě nedočkáme. Podobných patentů se navíc už objevilo vícero. Například jiný patent popisující biometrický sluchátkový systém byl zapsán roku 2014. Počítal s monitorováním tělesné teploty, srdeční frekvence a potu.

apple-airpods-fb

Dnes nejčtenější

.