Zavřít reklamu

Každou chvíli vás informujeme o všemožných patentových přihláškách, které si Apple zaregistroval u příslušných úřadů. Povětšinou se však jedná spíše o sci-fí technologie, které buď nespatří světlo světa nikdy nebo až za několik dlouhých let. Jeden z patentů, který si Apple zaregistroval nedávno, ale vypadá více než proveditelně – tím spíš, když de facto popisuje věc, kterou čínští výrobci smartphonů již používají například u modelu Huawei Mate P20 Pro. Barva zadní strany tohoto smartphonu totiž plynule přechází z jednoho odstínu do druhého, což vypadá poměrně zajímavě. A právě tímto směrem by se možná rád Apple v budoucnu vydal.

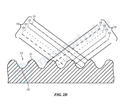
Nový patent Applu, obecně nazvaný jako Povrchová úprava, by mohl v případě jeho užití podstatně změnit vzhled budoucích iPhonů. Skleněná záda by mohla vytvářet efekty duhy a různé barevné přechody a vzory. Patent předpokládá užití CNC strojů k vytvoření drážek na povrchu. Tyto drážky by měnily lom světla. Apple by tak zanevřel na metodu pískování a využil jinou technologii, která by následně drážky opracovala tak, aby se při lomu světla vytvořil plynulý posun barev.

Takto vypadá grafické znázornění patentu:

Výrazná změna designu iPhonů není rozhodně od věci. Pokud jsou totiž zprávy z dodavatelského řetězce pravdivé, prodeje letošních iPhonů jsou skutečně propadákem, což je zapříčiněno hlavně neúspěchem iPhonu XR, od kterého si Apple v minulosti, podobně jako většina analytiků, hodně sliboval. Situace je tak špatná, že se Apple dokonce dohodl s japonským operátorem na slevě zhruba 2200 korun při nákuou iPhonu XR s příslušným tarifem. Zajímavější je ale tvrzení, dle kterého se Apple uchýlil k znovuobnovení výroby loňských iPhonů X, pro které už Samsung údajně začal vyrábět displeje. A právě změna designu by mohla být ve spojení s několika dalšími vylepšeními tím správným hnacím motorem pro úspěch v dalších letech.

iPhone2018 colors fb

Dnes nejčtenější

.