Apple, podobně jako mnoho dalších výrobců. nabízí ve svých produktech funkce, které umožní jejich uživatelům dozvědět se spousty zajímavých detailů o sobě sama. Převážná většina je ale k použití za situace, kdy je uživatel vzhůru a aktivní. Výjimkou je funkce Spánek, který ovšem nabízí jen velmi omezené funkce a pro ideální měření je pro něj potřeba i určité příslušenství. Naštěstí ale Apple vlastní Beddit – společnost zaměřující se na monitoring spánku, kterou koupil minulý rok. Tato společnost stojí za chytrým páskem, na kterém uživatel v noci spí. Slouží pro monitoring spánku a zvládá měřit například délku, dobu usínání, fáze spánku, výskyt chrápání, teplotu a vlhkost prostředí. Sledování zmíněných věcí však Applu alespoň dle nové patentové přihlášky, kterou si zaregistroval teprve nedávno, nestačí.
Mohlo by vás zajímat
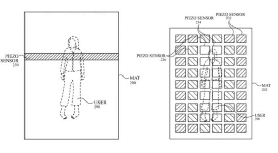
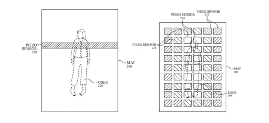
Nová patent nese název „multiprvkový piezoelektrický snímač pro fyziologické měření v lůžku“ a jeho cílem by mělo být sledování veškerých pohybů uživatele v celém cyklu spánku. Patent počítá s použitím senzorů, které by pokrývaly celý povrch lůžka a zaznamenávaly by pohyby spícího. Povrch matrace by rovněž mohl být mírně vlnitý, přičemž senzory by mohly být umístěny na „vrcholech“ vlnitého tvaru matrace. Další varianta se jeví jen jako jakýsi upgrade stávajícího proužku Beddit o další funkce.
Je možné, že takový patent byl zapsán kvůli vlastnictví společnosti Beddit a Apple s ní může mít do budoucna velké plány. Objevují se v něm totiž určité prvky, které už zvládá pásek Beddit 3. V úvahu ale samozřejmě připadá i plán na vytvoření upgradované verze, kterou obohatí právě o některé prvky z patentu. Jako v mnoha případech je ale třeba mít na paměti, že patent nemusí být skutečně nikdy dotažen do konce. Pokud vás monitoring vlastního spánku zajímá, není nic lehčího než pořídit pásek Beddit 3. Zakoupíte jej například na Alze za 3990 korun přímo zde.
Umí Apple Watch monitorovat spánek v základu, nebo ne? Já jen jestli si ze mě kolegové dělají srandu. Nebo mám bug v systemu
Nevím jaký model Apple Watch máte, ale já začínal se Series 2 a už tam byl monitoring spánku základní součástí. Ideálně k tomu stáhnout například appku Pillow, nebo něco podobného, kde vše vidíte v přehledných grafech: Doba v posteli / doba spánku / lehký / hluboký / REM spánek i záznam zvuku je li žádoucí (chrápání).
Dotaz dle mě směřoval na to, zda to umí aplikace Zdraví společně s Apple Watch. Samsung health tohle totiž má již integrované v základní aplikaci a nemusí se dokupovat další. Takže ne, apple watch tohle bez další doinstalované (koupené) aplikace neumí.
Zdravím vespolek! Už 7 let používám SleepCycle. Nejdřív jen v telefonu, teď co mám nový Watch S4, používám svoje starý na spaní (abych je vytěžil na 100%) se zapnutou aplikací, mám to propojený s phillips Hue a musím uznat že to pomalý rožnutí světla v ložnici a lehký poklep na zápěstí je pecka.