O chytrých brýlích z dílny Applu se šušká již poměrně dlouhou dobu. Ostatně, je to právě jablečná společnost, od které svět očekává inovace na poli techniky. V minulosti byl totiž právě Apple synonymem pro revoluci. Té bychom však mohli být podle zpráv z minulých měsíců a zajímavých patentů, které si cupertinský gigant registroval nedávno, již velmi blízko.
Mohlo by vás zajímat
Mnoho analytiků je přesvědčeno o tom, že příchod chytrých brýlí od Applu změní svět podobným způsobem, jako jej před lety změnil první iPhone. Apple Glass či iGlass, jak jsou chytré jablečné brýle označovány, by totiž měly být prošpikovány nejmodernějšími technologiemi a zvládat opravdu spousty věcí, čímž by mohly dokonale nahradit i mobilní telefon (samozřejmě například ve spojení s AirPods). Tim Cook se však nechal před v říjnu minulého roku slyšet, že zatím ještě neexistuje technologie, která by se Applu pro jeho brýle zamlouvala a tím pádem je jejich příchod zatím v nedohlednu. Toto tvrzení však poté popřel jeden z jablečných dodavatelů, společnost Quanta, který naznačil příchod brýlí již na konec příštího roku. Brýle jsou prý označeny jako projekt T2888 a je k nim vyvíjen speciální operační systém zvaný rOS vycházející z iOS. Tohle všechno už však díky článkům z minulých týdnů víte.
Koncept Apple Glass od iDropNews:
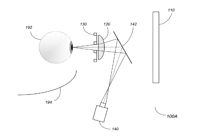
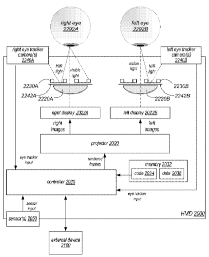
Nevíte však zatím o patentu, který si jablečná společnost registrovala teprve před pár dny a který do konceptu smart brýlí skvěle zapadá. Apple v něm totiž popisuje speciální systém pro sledování očí infračerveným světlem. Díky tomu by mohly být brýle ovládány pouhými pohyby očí či by se jen obsah, který by uživateli promítaly, určitým způsobem v závislosti na poloze očí přizpůsoboval.
Tyto nákresy přiložil Apple k patentové přihlášce:
Ačkoliv je celá myšlenka ovládání brýlí očima poměrně zajímavá, měli bychom ji zatím samozřejmě brát spíše s rezervou. O celém projektu totiž zatím víme opravdu pramálo informací, takže nemůžeme říci, zda budou fungovat na tomto principu či nikoliv. Jedná se totiž samozřejmě o pouhý patent, kterých si technologické společnosti registrují každoročně desítky až stovky a jen zlomek z nich spatří světlo světa. Ale kdo ví. Třeba se nyní právě díváme na něco, co se za pár měsíců či let stane realitou.
Apple Glass – dalsia uzasna vec, podobna kravina ako HomePod. Nech sa radsej sustredia na veci ako novy Mac mini a Mac Pro.
To už nie, proste nech idú smerom nejakým, ale nie zas do všetkého…
nie