V záplavě mnohdy skoro až nereálných patentů Applu se před pár dny objevil jeden, který rozhodně stojí za vyzdvihnutí. Pojednává totiž o produktu, jehož příchod není ani trochu nereálný a mnohým z vás by mohl výrazně zpříjemnit používání Apple Watch.
Mohlo by vás zajímat
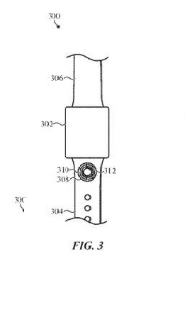
Patent hovoří o pokročilých funkcích pásků k Apple Watch, které by díky LED indikátorům mohly uživatele informovat o různorodých informacích, o kterých bude chtít být uživatel informován. Patentová přihláška zveřejněná Americkým úřadem pro patenty a ochranné známky se nazývá „Ukazatel pro nositelná elektronická zařízení“. Technologie by měla uživatele informovat o různých informacích na základě strategicky rozmístěných LED indikátorů. Text přihlášky rovněž naznačuje, že intenzita záření LED indikátoru by zobrazovala stav sledované aktivity nebo denního cíle. Tedy např. čím intenzivněji by indikátor svítil, tím by uživatel byl blíže například ke splnění denního limitů ujitých kroků. Druhou variantou je světelný pás, který by se na základě počtu ušlých kroků postupně světlem vyplňoval.
Grafický pohled na zmíněný patent:
Apple dle všeho hodlá v budoucnu myslet stále více na zdraví svých zákazníků. O Apple Watch proto mnohdy hovoří jako o skvělém zařízení pro zdraví, což nedávno potvrdil i implementací senzorů EKG v nových Apple Watch Series 4. Na funkčnost této vychytávky si však budeme muset kvůli zdlouhavým schvalovacím procesům ještě chvíli počkat. V budoucnu bychom se mohli rovněž dočkat sledování příznaků Parkinsonovy choroby. Nejnovější Apple Watch Series 4 zakoupíte kromě oficiálních Apple Storů a Online Storu Applu i například na Alza.cz.
Na Alzu bych zrovna neodkazoval – měl jsem je tam objednanné již od 23. 9. a před týdnem mi proti mé vůli stornovali objednávku s tím, že hodinky hned tak nebudou… :-( tak to radši ruší…
A proč to nekupuješ přímo na Apple.cz ??? Tam by Ti rozhodně objednávku nezrušili. Vše kupuji přímo tam a nikdy jsem neměl sebemenší problém a často mi věc byla doručena i dříve, než byl garantovaný termín doručení při nákupu.
Ale vždyť Alza je taky přece oficiální prodejce, ne? 😇
Alza.cz je Premium Reseller produktů Apple ale furt je omezena dostupností produktů Apple.
Apple Store a Online Apple Store je přímo Apple, tudíž veškeré svoje produkty má a bude mít vždy jako první.