Jablečná technologie 3D Touch využívá vrstvu s 96 tlakovými senzory, které detekují stisknutí displeje a díky vestavěnému Taptic Enginu vibracemi stimulují pocit kliknutí.
Apple nyní získal nový patent, který napovídá, že cupertinská společnost vyvíjí další generaci 3D Touch s integrovanou haptickou odezvou.
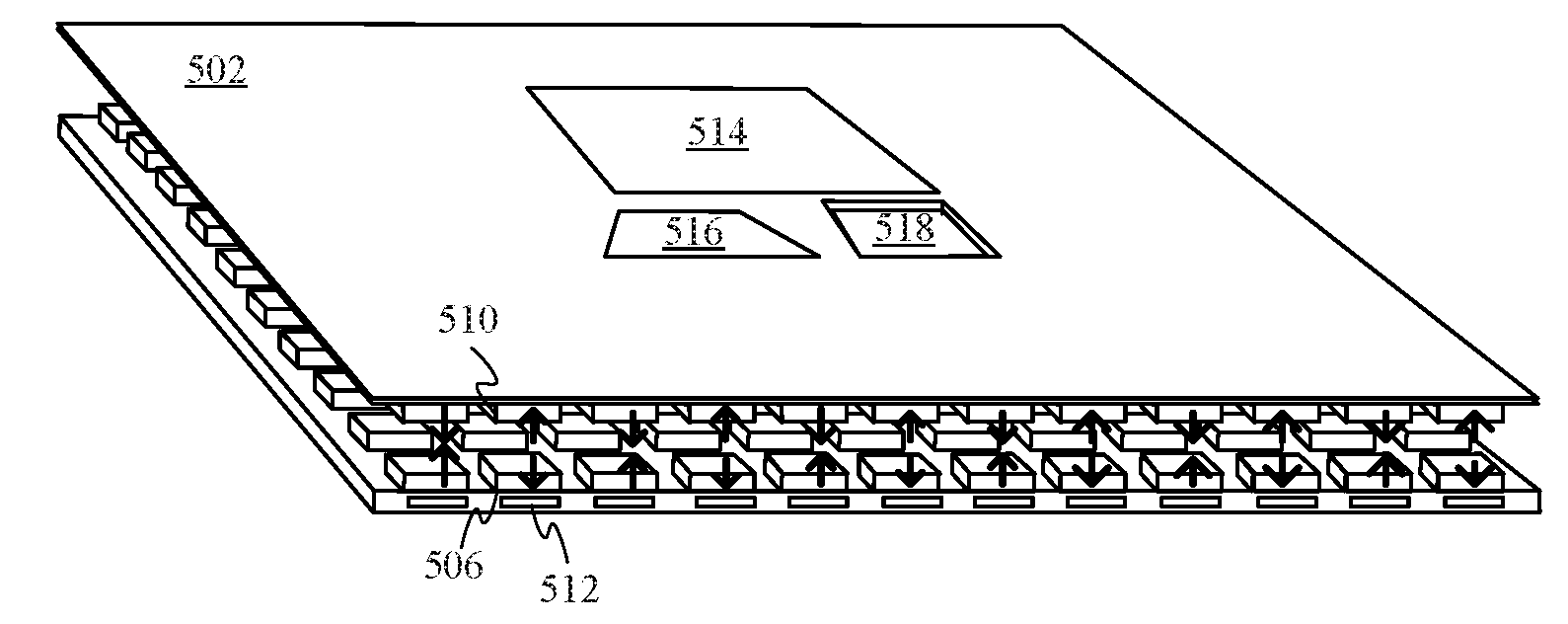
Patent zvaný Dynamicky stabilizované magnetické pole popisuje nadcházející 3D Touch systém, který by používal elektromagnety a permanentní magnety zabudované do sestavy displeje.
Vyvinutým tlaku na ochranné sklo by se vytvořil magnetický obvod mezi jednotlivými magnety, což by způsobilo odpudivou sílu, která by poskytla hmatovou zpětnou vazbu. Apple by mohl měnit i stupeň haptické odezvy.
Uživatelé technologii ocení zejména při psaní na virtuální klávesnici, mimo jiné i v aplikacích, jako je virtuální klavír.
“V některých případech může být vstupní zařízení konfigurováno tak, aby zobrazovalo klávesové rozhraní klavíru. V konfiguraci klavíru budou klávesnici tvořit dva typy kláves, a to černé a bílé.”
Z patentu však není zřejmé, zda technologie nahradí současný Taptic Engine, nebo ho pouze rozšíří.
Zdroj: iDownloadBlog