Patentový úřad zveřejnil v úterý patent Applu, v němž společnost zkoumá design skládacího iPhonu s flexibilním OLED displejem. Patent s názvem „Flexibilní zobrazovací zařízení“ popisuje design iPhonu, který se v případě nepoužívání složí napůl. Připomíná staré „véčkové“ mobily, které v roce 1990 vyráběla Motorola.
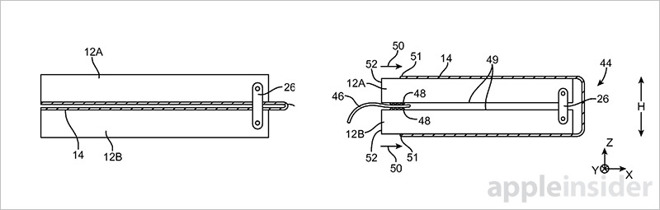
Verze skládacího telefonu od Applu využívá řadu flexibilních částí včetně OLED displeje a sklopné kovové podpůrné struktury – například ze slitiny niklu a titanu, která má speciální elastické vlastnosti. Podle Applu by vrchní část telefonu mohla obsahovat fotoaparát, ovladače displeje, reproduktory a světelné senzory, ve spodní části by se mohly nacházet mikrofony, CPU a grafický procesor spolu s dalšími typickými mechanismy smartphonů. Obě části jsou spojeny součástkami, umožňujícími jejich vzájemný pohyb, zatímco flexibilní plošné spoje drží spojení pohromadě.
Mohlo by vás zajímat
Flexibilní displej se rozkládá na obou částech telefonu a obsahuje speciální materiál, podporující jeho vlastnosti. Kromě známého „véčkového“ skládacího systému popisuje patent dále ještě možnost skládání displeje opačným směrem, díky čemuž jsou obě poloviny displeje přístupné i při zavření přístroje. Druhá konfigurace zahrnuje klipy pro upevnění telefonu na oblečení jeho majitele. V patentu Apple dále zkoumá další podoby telefonu, z nichž jedna vzdáleně připomíná známou dětskou hračku z dřevěných destiček, spojenou pruhy textilu. Tento patent je však mnohem více zajímavostí, spíše než indikací, že by se Apple reálně chystal vydat skládací telefon. Výzkum, zobrazený v patentu, by si však mohl najít cestu do jiných produktů. Mohlo by se jednat například o velký skládací tablet. Jubilejní iPhone 8 se nejspíš obrázkům z patentů podobat nebude, s OLED displejem ale počítá již řada odborníků a analytiků.
Zdroj: MacRumors.com