Zdá se, že pokud se na iPhone 8 budou vztahovat některé z patentů, podaných v poslední době Applem, bude se jednat o skutečně revoluční zařízení. Podle nedávného patentu kalifornský výrobce elektroniky pracuje na zabudování světelných senzorů přímo pod sklo displeje telefonu.
Patentový úřad pro Spojené státy americké dnes uznal Applu další patent, který by mohl pomoci vytvořit telefon s co největší skleněnou plochou displeje. Nový patent popisuje „elektronická zařízení s integrovanými světelnými senzory pod displejem“ a odkazuje na metody, díky kterým by se světelné senzory nového iPhonu daly implantovat přímo pod displej telefonu, namísto vedle něj.
Mohlo by vás zajímat
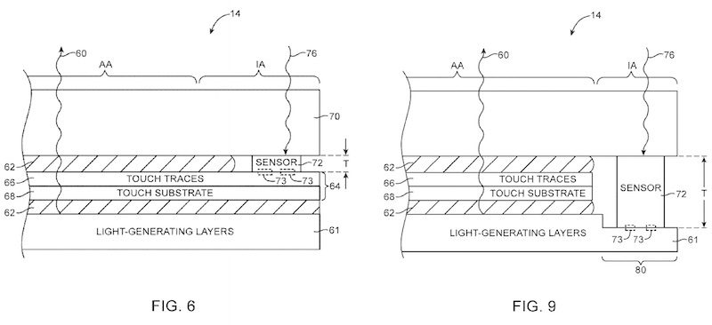
Patent obsahuje hned několik konfigurací dané technologie. Podle jednoho schématu jsou světelné senzory, určené k detekci okolního světla, integrovány přímo nad dotykovou vrstvou displeje, podle jiného je senzor umístěn vedle dotykové vrstvy. Patent dále upozorňuje, že metoda v něm použitá se nemusí nutně vztahovat jen na světelné senzory, ale může být použita „pro fotobuňku či jiný senzor“. Typicky jsou světelné senzory v mobilních zařízeních umístěny mimo aktivní oblast displeje na čelní ploše zařízení. Proto je k jejich umístění zapotřebí dalšího místa na zařízení, ať už na vrchní či boční straně, což může vést k nežádoucímu nárůstu velikosti i hmotnosti přístroje.