Zavřít reklamu

Jednou z hlavních novinek v iOS 8 má být aplikace Healthbook, který by měla podle doposud neoficiálních informací shromažďovat a porovnávat data z jednotlivých senzorů. Problém je v tom, že samotný iPhone příliš mnoho senzorů, které je možné použít pro monitorování fyziologických funkcí nemá. Je tedy logické, že se okamžitě začalo spekulovat o tom, že většinu nebo dokonce všechny senzory nabídnou hodinky iWatch. Ty budou však jistě nabízet také kompaktní design a Applu by se nemuselo podařit skloubit kompaktní design a množství senzorů.

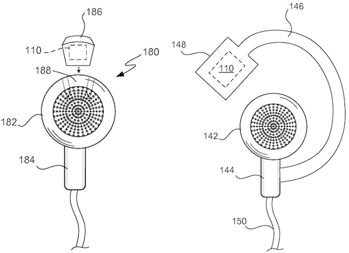
Tomu, že některé senzory nabídnou nová sluchátka Apple EarPods nasvědčuje také nový patent společnosti Apple, který popisuje „inteligentní sluchátka“, která dokáží měřit některé fyziologické funkce uživatele. Apple tak ušetří potřebné místo v iWatch a dokáže monitorovat další funkce bez toho, aniž by musel do hodinek integrovat další senzory. Apple si patentoval sluchátka, která mohou po jedné lince a přes 3,5mm jack konektor přenášet data. Do sluchátek je možné integrovat množství senzorů a tím sledovat fyziologické funkce uživatele. V jednom ze zobrazení v patentu je vidět, že sluchátka mohou mít senzor, který se připne například na ucho uživatele nebo se dotýká jeho krku a uživatel je tak monitorován.

apple_headphone_sensors

Podle nových informací pak nabídnou sluchátka právě některý ze senzorů pro měření fyzilogických funkcí uživatele a budou nabízet také další mikrofony, díky kterým se potlačí okolní šum během telefonování. Senzoru mohou být umístěny také přímo v samotném sluchátku a mohou monitorovat nejrůznější funkce uživatele. Ucho je navíc velice citlivé místo, na kterém je možné měřit například teplotu, pocení uživatele nebo jeho srdeční tep.

apple_headphone_sensors_2

*Zdroj: macrumors.com

Dnes nejčtenější

.