Zavřít reklamu

Webová kamera v MacBooku Pro sice svůj základní účel plní, ale na kvalitu pokročilých senzorů z iPhonů stále ztrácí. Hlavním důvodem je extrémně tenké hliníkové víko displeje, do kterého se pořádná optika jednoduše nevejde. Apple ale podle nejnovější patentové přihlášky zvažuje velmi netradiční řešení.

Magnetická optika místo tenkého výřezu

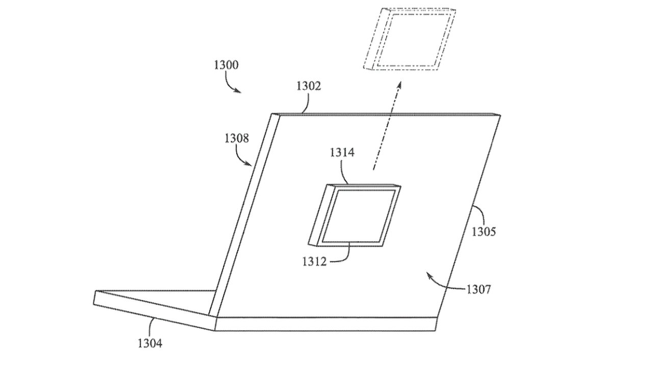
Namísto marné snahy o další miniaturizaci součástek navrhují inženýři Applu pravý opak. Zcela nový patent ukazuje masivnější, zhruba tři milimetry tlustý modul fotoaparátu, který by z víka MacBooku zřetelně vystupoval. Tento systém by navíc mohl být plně odnímatelný a s největší pravděpodobností by spoléhal na silné magnety.

Místo tradičního výřezu v displeji byste si tak kamerku jednoduše nacvakli na přední, nebo klidně i na zadní stranu obrazovky. Dokument dokonce počítá se synchronním natáčením z obou stran současně, což by představovalo skvělý nástroj pro tvůrce rozhovorů a podcastů.

Obrazovka, kterou vytrhnete z pantů

Tou největší divočinou v nákresech je ale samotná obrazovka. Dokument totiž detailně popisuje displej, který lze na základně s klávesnicí volně otáčet. Padla i extrémní varianta, kdy by šlo obrazovku z pantů úplně vyjmout, otočit ji čelem vzad a znovu zacvaknout do základny. Vzhledem k obrovské námaze na klasické vnitřní kabely by takový panel mohl podle Applu teoreticky fungovat čistě bezdrátově. Myslím, že by jakkoliv vystouplá a odnímatelná kamera uštědřila čistému designu MacBooku obrovskou ránu a k pečlivému designu Applu mi to zkrátka vůbec nesedí.

Dnes nejčtenější

.