Zavřít reklamu

Apple vlastní celou řadu patentů a některé z nich skutečně stojí za zmínku. Nově společnost získala patent s názvem „Elektronická zařízení se systémy pro snímání dechu“. Technologie naznačuje, že budoucí iPhony nebo Apple Watch by mohly sloužit jako pokročilé nástroje na diagnostikování té či oné nemoci. Stačilo by na ně dýchnout a zařízení by dokázalo identifikovat biomarkery signalizující vážné zdravotní stavy, jako je cukrovka nebo vysoký cholesterol.

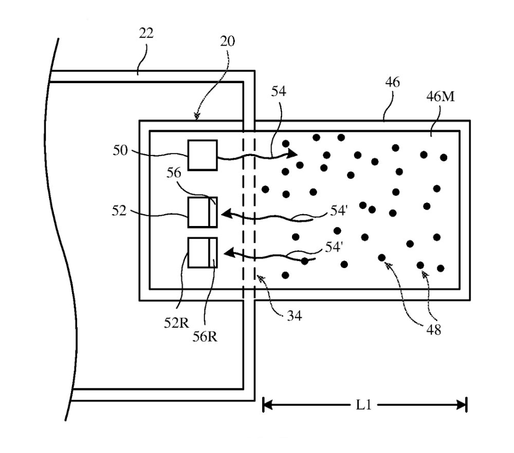
Klíčovým prvkem je infračervený světelný senzor umístěný pod speciálním okénkem v těle zařízení. Tento systém by fungoval zcela bezkontaktně a bez nutnosti používat jakékoli náustky. Infračervený paprsek by procházel vydechovaným vzduchem a analyzoval přítomnost specifických molekul plynů. Naměřená data by pak iPhone porovnal s databází známých vzorců onemocnění a v případě nálezu by uživateli doporučil návštěvu lékaře. Tedy podobně jako to dnes dělají senzory srdečního tepu u hodinek.

Aby bylo měření přesné, Apple plánuje zapojit i další snímače. Viditelná kamera nebo infračervená hloubková kamera (Face ID) by sledovaly obličej uživatele a určovaly jeho přesnou vzdálenost od senzoru dechu. Telefon by vás tak mohl vyzvat, abyste se přiblížili, nebo by automaticky upravil směr paprsku přímo k vašim ústům. Tato inovace zapadá do dlouhodobé vize Tima Cooka, podle kterého bude největším přínosem Applu lidstvu právě oblast zdraví. Podle mě to zní více než zajímavě. Nutno ale připomenout, že se jedná pouze o patent, kterých Apple vlastní extrémně mnoho. Těžko tedy říct, zda někdy něčeho podobného budeme svědky.

Dnes nejčtenější

.