Zavřít reklamu

Chytré hodiny Apple Watch z dílny cupertinské společnosti mají hardwarovou výbavu poměrně obstojnou, ať už se jedná o nejrůznější užitečné senzory nebo třeba poměrně výkonný čip. Nově odhalený patent ale ukazuje, že má Apple možná v plánu osadit své chytré hodinky ještě jedním zajímavým hardwarovým prvkem, kterým už nyní disponují některé konkurenční modely.

Společnost Apple podle nejnovějších informací pracuje na novém designu svítilny pro své chytré hodinky Apple Watch. Zatímco současná svítilna využívá pouze displej hodinek, Apple v současné chvíli zkoumá možnost vybavit hodinky samostatnou, externí svítilnou. Současná svítilna na Apple Watch má v podstatě jen podobu velmi jasně rozsvíceného displeje – můžete ji aktivovat v Ovládacím centru vašich chytrých jablečných hodinek po klepnutí na příslušnou ikonku. Svítilna může buďto stabilně svítit bíle, nebo blikat bíle či červeně.  Svítivost je však poměrně slabá, což je způsobeno snahou Apple zabránit oslnění uživatele. Pokud však otočíte zápěstí a jste v dostatečně tmavé oblasti, uvidíte, že se světlo po chvíli zesílí. Stále však není oslňující a musíte držet ruku v neobvyklém úhlu, abyste svítili tam, kam chcete.

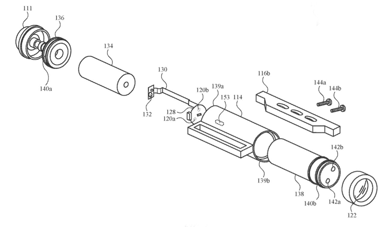
To však Applu zřejmě nestačí. Společnost zkoumá alternativní řešení svítilny pro Apple Watch, o čemž svědčí nově udělený patent s názvem „Modular Light Assembly For A Wearable Device“. Tento patent navrhuje ignorovat obrazovkovou svítilnu a místo toho vybavit Apple Watch samostatnou hardwarovou svítilnou. Ta by byla umístěna na řemínku hodinek a svítila by tam, kam ji nasměrujete, nezávisle od displeje zařízení. Apple vysvětluje, že světelné zdroje by při svícení generovaly viditelné světlo směřující rovnoběžně nebo téměř rovnoběžně s osou definovanou uživatelovým zápěstím, když zápěstí prochází řemínkem. Podle patentu by nová svítilna mohla dokonce mít i vlastní baterii, což by mohlo snížit zátěž na hlavní baterii hodinek. Kromě toho by měla být svítilna jasnější a snáze se s ní bude manipulovat. Ačkoli získání patentu neznamená automatickou implementaci nové technologie, je to slibný signál. Apple se očividně zajímá o vylepšení svítilny na svých chytrých hodinkách, a můžeme očekávat, že se v budoucnu dočkáme nových a vylepšených řešení.

Apple Watch Series 10 si lze předobjednat zde

Apple Watch Ultra (nejen) v černé si lze objednat zde

Dnes nejčtenější

.