Zatímco uživatelé zatím pořád ještě marně volají například po zlepšení výdrže Apple Watch, cupertinská společnost je očividně skálopevně přesvědčená o tom, že to, co jablíčkáři potřebují, jsou chytré řemínky. Alespoň to tak působí na základě urputnosti, s jakou Apple obnovuje a znovu podává patentovou přihlášku, související s multifunkčním Apple Watch řemínkem.
Mohlo by vás zajímat
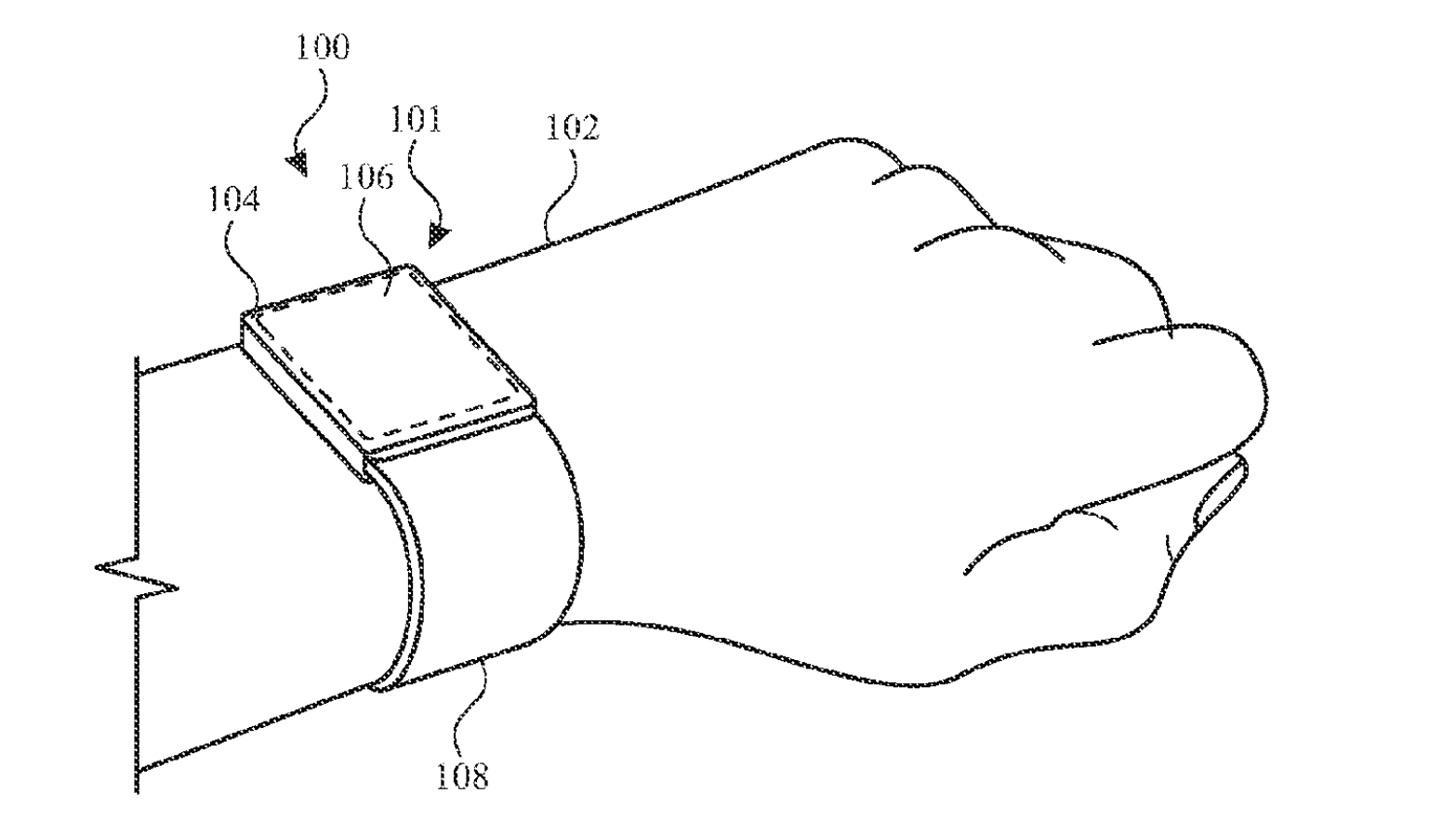
Apple se nespokojil s plánem vyrábět řemínky pro Apple Watch, jejichž barvu lze měnit, ale chce, aby tyto řemínky měnily i to, co hodinky zobrazují, a navíc prokázaly to, že jsou „autorizované“. V únoru roku 2023 byl společnosti Apple udělen patent na řemínek Apple Watch, který by uživatelé mohli libovolně měnit – respektive měnit jeho barvu a přizpůsobit ji tomu, co mají právě na sobě. Místo toho, aby se člověk musel zabývat nyní zjevně zatěžující činností ruční výměny řemínků Watch, mohl by jednoduchým ovládáním měnit vzhled řemínku.
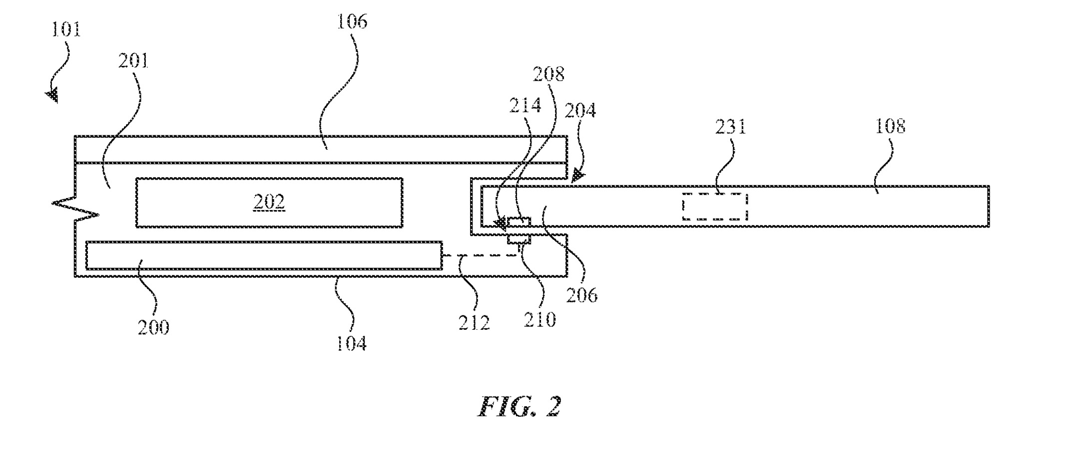
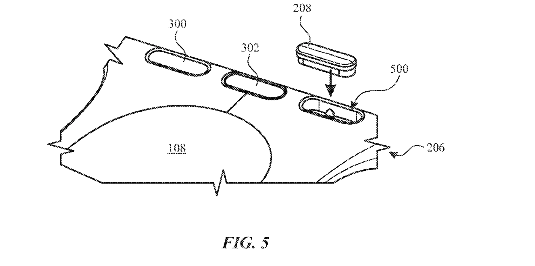
V březnu 2023 byl společnosti Apple zmíněný patent udělen znovu. Obvykle to znamená, že v patentu došlo k nějaké změně, kvůli které musel znovu projít schvalováním, i když rozdíl je nepatrný. Neustálé opakované podávání žádostí a udělování patentů svědčí o tom, že společnost Apple věnuje tomuto konkrétnímu nápadu určité úsilí. Myšlenka patentu s názvem „Band Identifier System For Wearable Devices“ spočívá v tom, že řemínek Apple Watch by mohl měnit barvu, aniž by se uživatel musel namáhat klepnutím nebo přejetím prstem po aplikaci. Řemínky by navíc mohly být opatřeny NFC štítkem, který by mohl sloužit nejen k identifikaci řemínku. „Operace zařízení, jako je barva, motiv nebo obsah zobrazený na zařízení, mohou být částečně založeny na identifikaci konkrétního pásku,“ uvádí se v patentu.
Apple má zájem na tom, aby se neměnila výhradně barva pásku, ale také celý efekt hodinek Watch. „Jelikož domovská obrazovka a uživatelská rozhraní zobrazená na displeji nositelného elektronického zařízení jsou také přizpůsobená a/nebo tematická, nový řemínek může být v rozporu nebo jinak protichůdný či nekompatibilní s obsahem zobrazeným zařízením,“ stojí dále v patentu. V důsledku toho nemusí jít o to, že pásek změní barvu, ačkoli o to v předchozí přihlášce šlo. Místo toho může jít o to, že řemínek, který nemění barvu, způsobí, že se hodinky Apple Watch přepnou na ciferník, který je barevně sladěn s řemínkem. Řemínek také vůbec nemusí vyvolat viditelnou změnu. Místo toho by se NFC štítky mohly používat k rozlišení autorizovaných řemínků.
Potenciálně by to tedy mohlo znamenat, že Apple zavede autorizační program ve stylu „Works with iPhone“. Mohlo by to ale také znamenat, že nasazení náramku spustí odpovídající aplikaci pro Apple Watch. Tento patent je připsán sedmi vynálezcům, včetně Daniela J. Hiemstry, mezi jehož předchozí zásluhy patří práce na anténách Apple Watch.
Myslím, že první na co by se toto dalo využít, že se automaticky změní barva ciferníku podle barvy nasazeného řemínku.
To muselo dát práce a přitom taková blbost.
Na kozene reminky to asi fungovat nebude, myslim …