Zavřít reklamu

Vůči společnosti Apple sice můžeme mít své jisté výhrady, nelze jí ale v žádném případě upřít, že je v mnoha směrech opravdu inovativní. Platí to nejen v oblasti výroby osobních počítačů nebo chytrých mobilních telefonů, ale také chytrých hodinek. O tom, jaké inovace a vylepšení Apple chystá, nám často mohou napovědět nejrůznější patenty, které si cupertinská společnost nechává patentovat. Některé funkce, naznačené těmito patenty, si umíme v praxi představit velice dobře, jiné jsou ale často velmi pozoruhodné. Právě do druhé skupiny patří ovládání hodinek foukáním.

Dotykové ovládání chytrých telefonů, tabletů nebo třeba právě chytrých hodinek v dnešní době již asi nikoho nepřekvapí. Několikrát se spekulovalo také o tom, že by některé modely budoucích generací Apple Watch bylo možné ovládat za pomoci pohybu zápěstím, o ovládání foukáním na displej ale jistě většina z vás čte dnes poprvé. Právě tento způsob ovládání popisuje nedávno zveřejněný patent společnosti Apple. Samotné podání příslušné patentové žádosti samozřejmě není zárukou, že takto ovládané Apple Watch vůbec někdy spatří světlo světa, jedná se ale rozhodně o velmi pozoruhodný nápad.

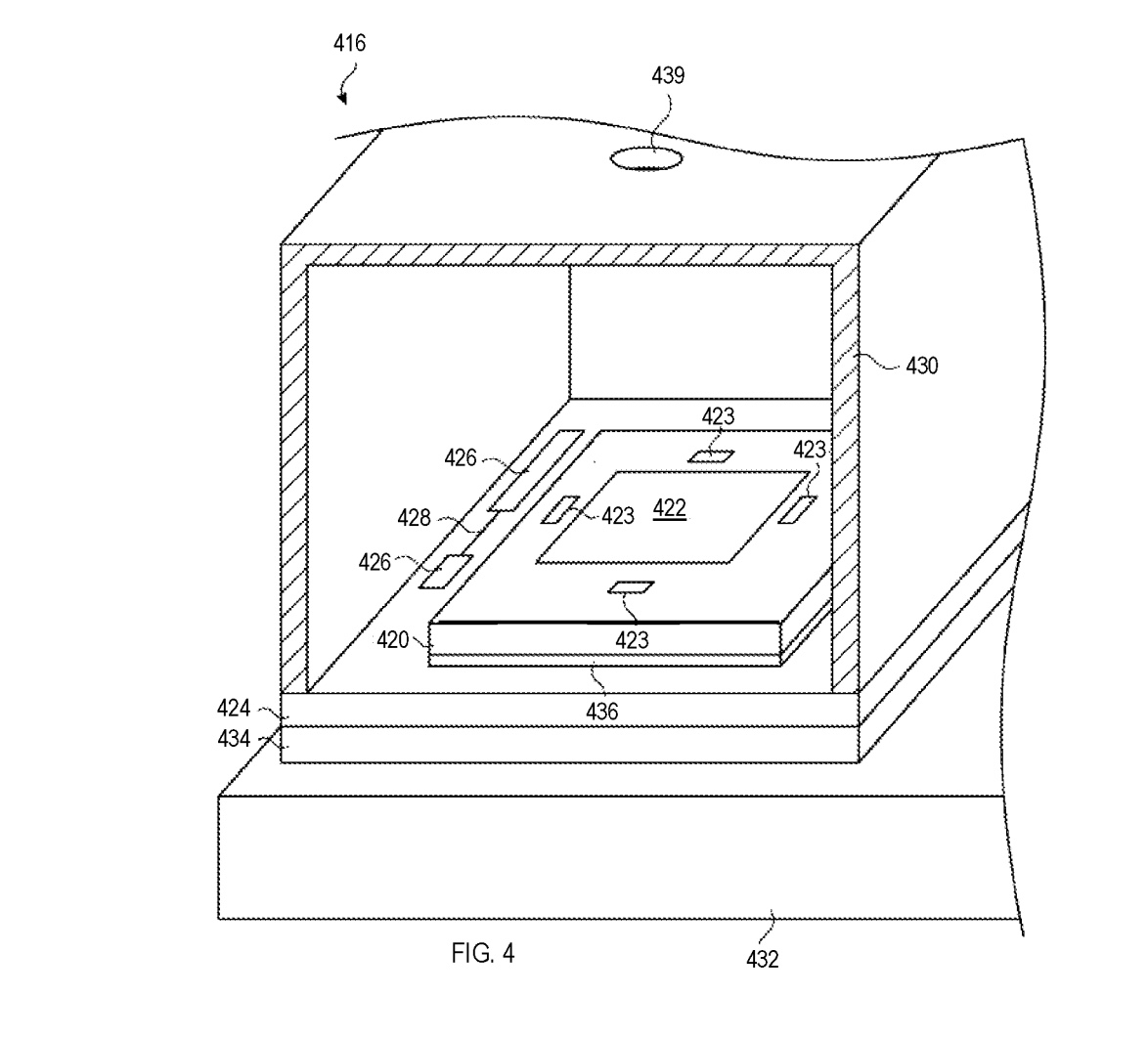
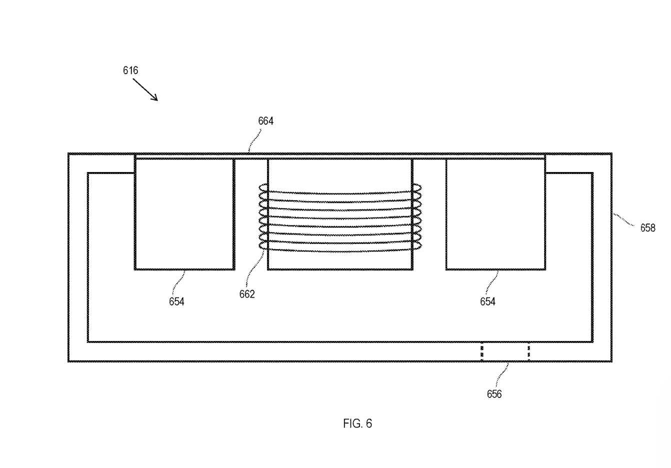
Americký patentový úřad nedávno Applu schválil patent, popisující možnost interakce s jablečnými chytrými hodinkami za pomoci foukání. Tímto způsobem by mohlo být teoreticky možné například probudit hodinky ze spánku, ale třeba také interagovat s notifikacemi a provádět některé další druhy akcí. Patent popisuje speciální systém, schopný detekovat přísun vzduchu na displej hodinek, a zároveň. schopný rozlišit záměrné foukání od nechtěných interakcí, a to především za pomoci správné detekce tlaku vzduchu. Pod zmíněným patentem je jako vynálezce podepsán Jiang Wang, patentová žádost byla podána společností Apple v průběhu března loňského roku.

Dnes nejčtenější

.