Zavřít reklamu

Americký patentový úřad v uplynulých dnech přiznal společnosti Apple nový patent, který se zaobírá uživatelským komfortem při použití AR/VR headsetu (tedy potenciálně i Apple Glass). Patent s názvem „Electronic Device with Adaptive Display“ se zaměřuje na fungování speciálního senzorického systému, který by upravoval jas uvnitř headsetu tak, aby jeho použití nečinilo uživateli diskomfort. Původní text si můžete přečíst zde.

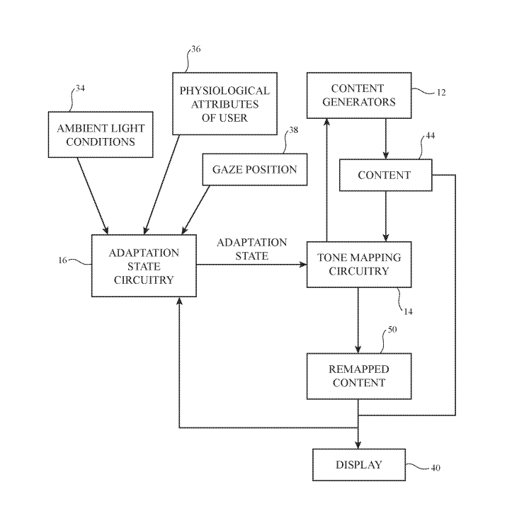
Apple v textu patentu popisuje situaci, kdy si uživatel nasadí headset, jehož obraz se při přechodu ze světlé místnosti může jevit jako velmi tmavý a nevýrazný, nebo naopak situaci, kdy si uživatel headset sundavá a je nepříjemně oslněn ostrým okolním osvětlením, které je daleko jasnější než byl vnitřní prostor headsetu. Tyto problematické přechody a výrazné rozdíly v ambientním osvětlení „venku a uvnitř“ by měl řešit systém, který Apple v patentu popisuje.

Ten by poněkud překvapivě neměl fungovat na bázi běžného ambientního senzoru umístěného na vnější straně brýlí, nýbrž by se měl nacházet uvnitř a světelná regulace by měla probíhat na základě čtení reakci očí uživatele, který headset používá. Senzor by měl rozpoznat například frekvenci mrkání, šíři zorniček či úroveň hmouření očí.

Pokud oči uživatele budou naznačovat, že je jak obraz, tak okolní prostředí headsetu příliš tmavé, dojde k úpravě. Pokud naopak bude produkovaný obraz příliš jasný a uživatele by měl oslňovat, jeho intenzita se sníží do takové míry, aby byl pohled a používání přístroje komfortní. V ideálním případě by tak nedocházelo k nutnosti adaptace na jiné prostředí (z hlediska osvětlení) uvnitř headsetu, oproti venkovnímu prostředí. Podle patentu by úprava jasu displeje a vnitřního prostředí zařízení mohla fungovat také jako jakýsi regulátor vnímání dynamického rozsahu zobrazované scény.

Dnes nejčtenější

.