Zavřít reklamu

O tom že Apple již několik let připravuje produkt zaměřující se na rozšířenou, nebo dokonce virtuální realitu, se mluví už hodně dlouho. V posledních týdnech či měsících se dokonce objevily informace o tom, kdy první AR brýle dorazí. K tomu by mělo v omezené míře dojít už příští rok, není tedy od věci se zamyslet nad tím, jak se bude s takovým zařízením vlastně reálně manipulovat. Například nově uznané patenty z posledních týdnů naznačují, že Apple mimo jiné zvažuje speciální ovládací rozhraní které by se navlékalo na prsty.

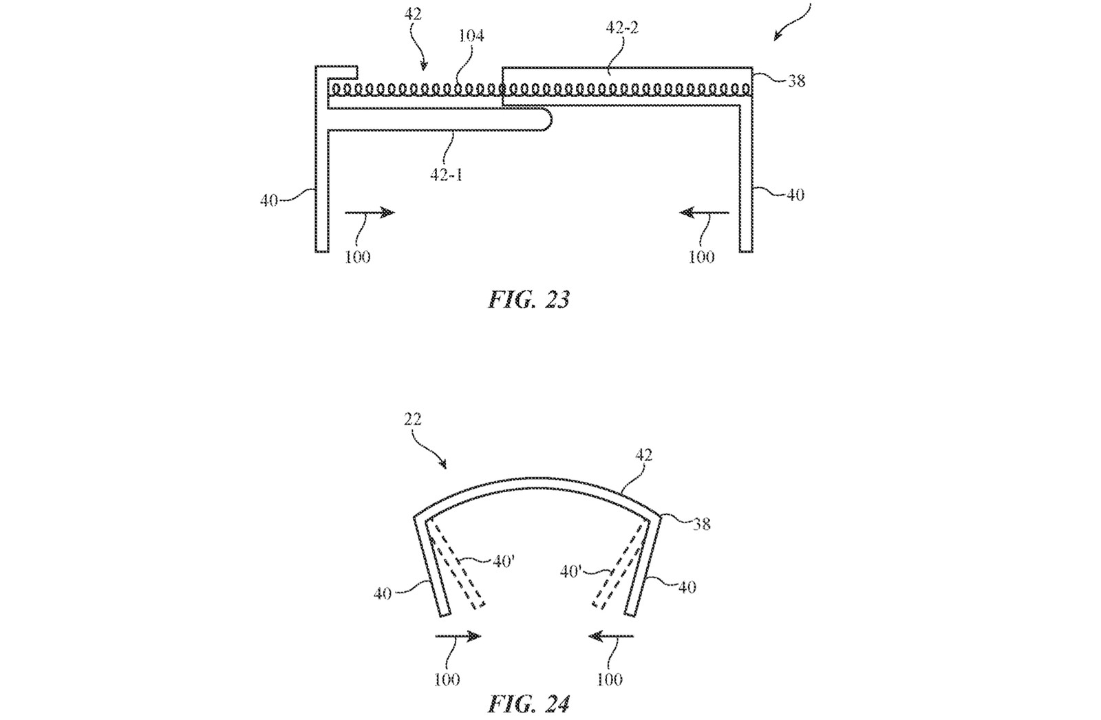
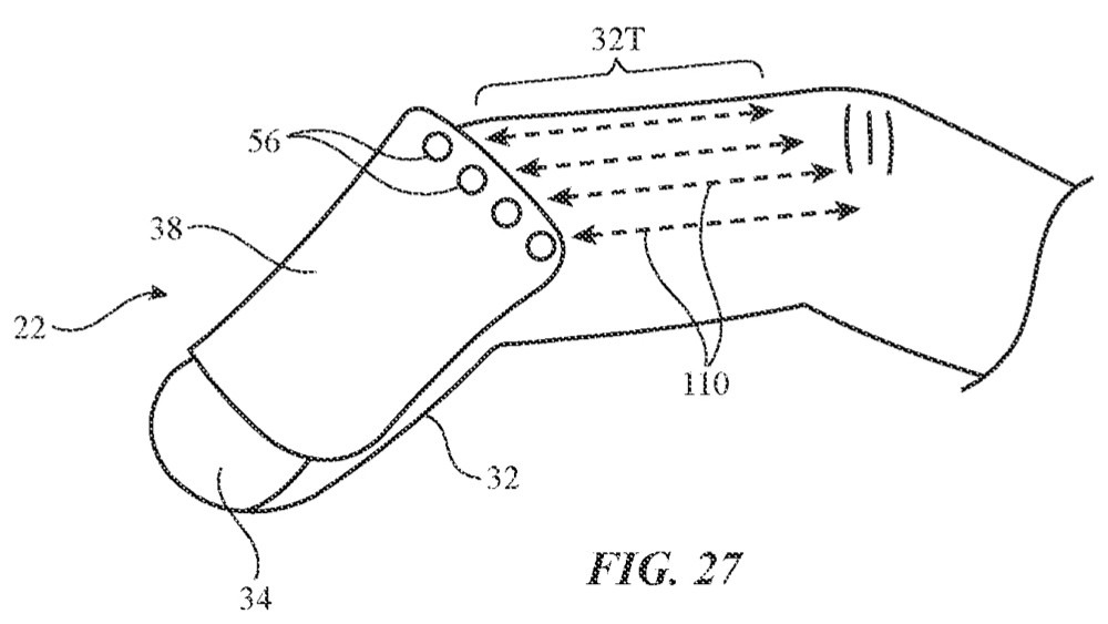
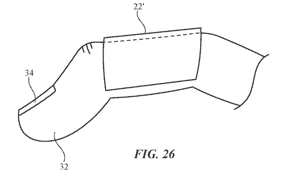
Dle nově zveřejněného a uznaného patentu Apple zkoumá speciální ovladače, které si uživatelé navléknou na prsty a za pomocí snímání pohybu, gest a případně různých tlačítek budou ovládat zařízení pro rozšířenou/virtuální realitu. Patent nese označení „Finger-Mounted Device With Sensors and Haptics“ a podívat se na něj můžete zde.

Výše popsaný patent by potvrzoval už dříve se objevující spekulace o tom, že se Apple chystá ke svým novým AR/VR brýlím přijít se zcela novým uživatelským rozhraním pro ovládání. V patentu popsané zařízení by mohlo v praxi připomínat něco jako rukavice či návlek na jednotlivé prsty obsahující větší množství senzorických a komunikačních prvků. Podobná zařízení dle Applu nabízí celou řadu benefitů, od volného pohybu rukou, přes zachování schopnosti cítit a vnímat případný manipulovaný objekt.

Podobné komunikační zařízení by v reálu bylo pravděpodobně extrémně nákladné, což by odpovídalo spekulovaným cenám celého AR/VK setu, který by měl Apple nabízet. V minulosti se hovořilo o ceně pohybující se kolem tří až čtyř tisíc dolarů za sestavu, což by vzhledem k výše popsanému odpovídalo. Headset jako takový také nebude levný vzhledem k tomu, co by měl dle dosavadních spekulací obsahovat. První generace tohoto typu zařízení má navíc cílit na náročné a extrémně vyhraněné zákazníky, cenově přijatelnější verze by se pak měly objevit s příchodem dalších generací.

Dnes nejčtenější

.