O tom, že Apple neustále pracuje na vylepšení své technologie bezdrátového nabíjení, jsme vás na stránkách LsA informovali již několikrát. Nedávno se objevil nový patent, podle kterého by v budoucnu mohlo být možné nabíjet bezdrátově iPhone prostřednictvím iPadu nebo Macu. Samotné podání patentu samozřejmě automaticky nezaručuje jeho realizaci, zmíněný patent ale určitě stojí za prozkoumání.
Mohlo by vás zajímat
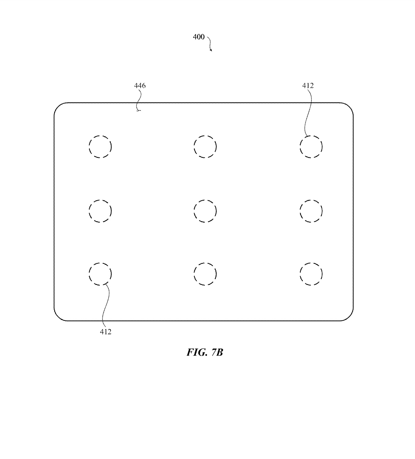
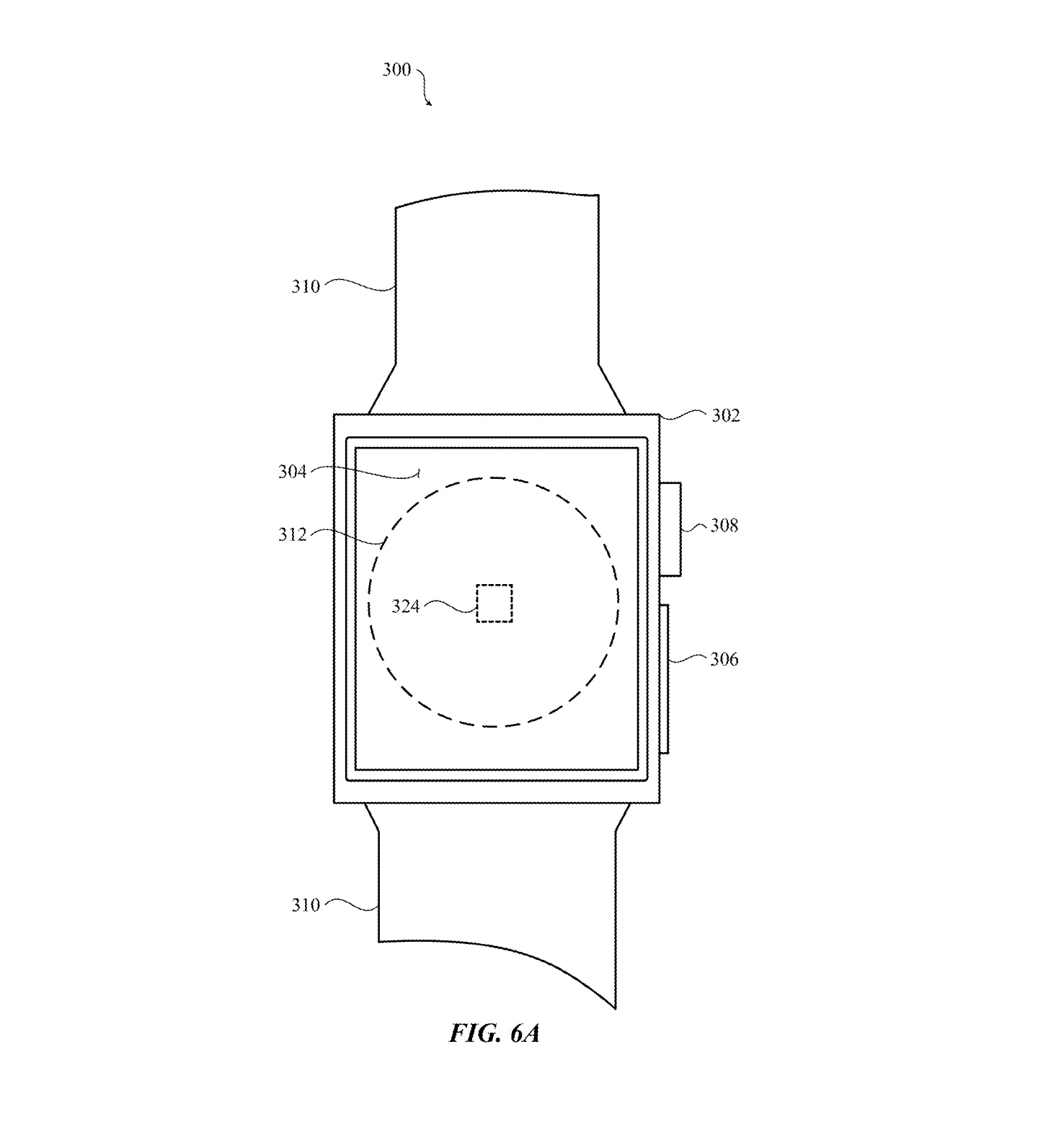
Technologie bezdrátového nabíjení je v mnoha ohledech pohodlná, a pokud k tomuto účelu lze využít další elektronické zařízení, je celý proces ještě snazší. U konkurence se nejedná o žádnou novinku – společnost Samsung například u některých svých zařízení nabízí funkci PowerShare, v jejím případě se ale jedná o nabíjení drobné elektroniky, jako jsou hodinky nebo bezdrátová sluchátka, prostřednictvím mobilního telefonu. Apple chce ale bezdrátové nabíjení jednoho elektronického zařízení prostřednictvím druhého pojmout trochu jinak – patent, který si firma nedávno nechala registrovat, popisuje bezdrátové nabíjení iPhonu prostřednictvím tabletu nebo počítače. Patent, zaregistrovaný u amerického patentového úřadu, nese název „Indukční nabíjení mezi elektronickými zařízeními“. Podle popisu patentu by baterie většího zařízení měla být schopná dodat energii menšímu zařízení. K přenosu energie by mělo docházet při použití vnitřní indukční cívky se schopností přenosu a vnější cívky, která by mohla energii přijímat. V navrhovaném systému nabíjení hrají svou roli také prvky nabíjecí technologie MagSafe, které by v tomto případě mohly posloužit k lepšímu vzájemnému umístění obou zařízení. Na jedné z ilustrací v patentu můžeme vidět, že k nabíjení není nutné využívat jen zadní stranu zařízení – na zmíněném obrázku je znázorněné nabíjení přes displej iPadu.
To okopirovali od Huhlaveje kterej to uz to davno mel?
Njn, kopírky z cupertina :-D
Jo a kdy ? Patent applu je zroku 2014.
To dava skutwcne smysl 🤭