Jen máloco udělalo v posledních letech ve světě Applu takový rozruch jako stojan pro monitor Pro Display XDR. Za ten si totiž Apple účtuje astronomických 28 990 korun, což je s ohledem na to, že se jedná “jen” o kus hliníku na první pohled skoro až šílené. Jedná se totiž o cenu, za kterou u nás téměř prodává základní iPhone 12 Pro. Jak se však podle nového patentů zdá, pobuřování Apple dost zatím nemá. Chystá totiž další generaci svého stojanu, která bude zcela určitě ještě dražší než ta nynější.
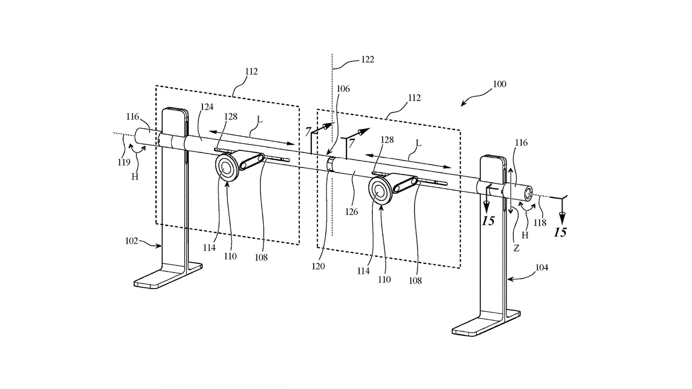
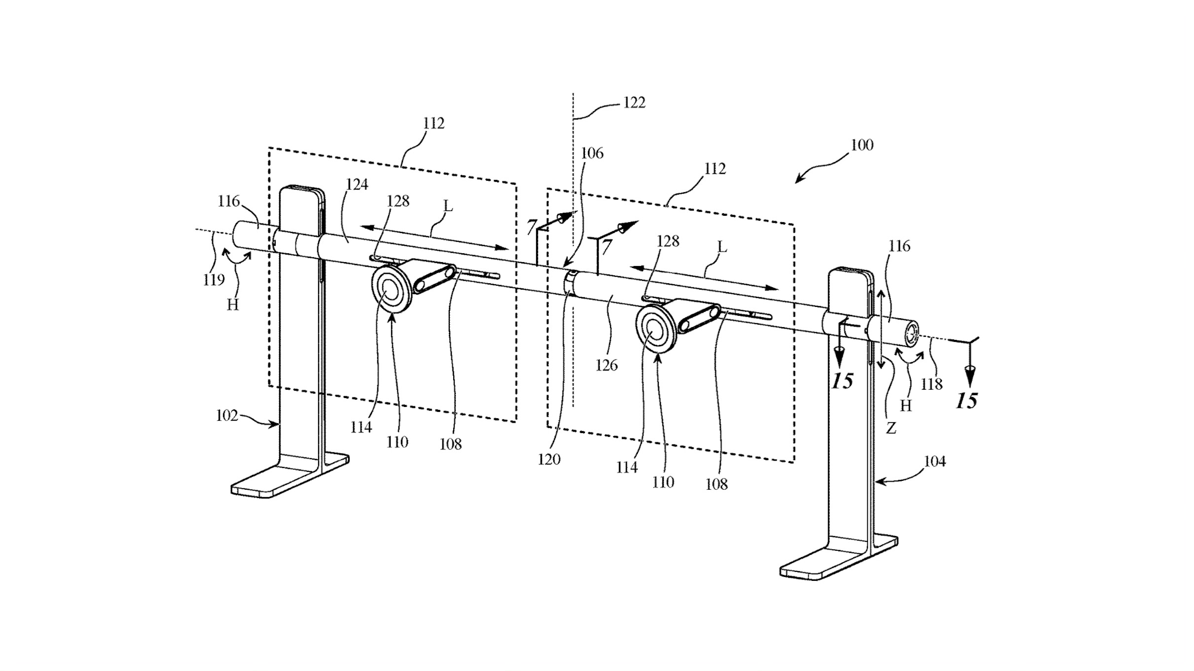
Americký patentový úřad tento týden zveřejnil poměrně zajímavý patent Applu týkající se dvojitého stojanu na Pro Display XDR. Jeho konstrukce je svým způsobem velmi jednoduchá. Apple u něj totiž vsadil na použití dvou noh, mezi které umístil kulatou tyč s magnetickými úchyty na displeje. Úchyty nejsou dle všeho v tyči napevno fixovány, ale je s nimi možné hýbat do boků a tím si tedy rozvržení displejů upravovat dle svých preferencí. Displeje by tedy mělo být možné mít jak přitisknuté k sobě, tak i s dostatečnou mezerou mezi nimi. Kromě polohy displejů pak půjde samozřejmě korigovat i jejich náklon a to stejně jako v případě nynější verze stojanu pomocí ramena držícího magnetickou koncovku pro displej.
Je jasné, že podobným stojanem Apple necílí na běžné uživatele, ale prakticky jen profesionály, kteří jsou schopni dva XDR Displeje využít – tedy například grafiky či nejrůznější filmová studia. Právě v těch jsou ostatně tyto displeje využívány a to dle všeho poměrně ve velkém, což Apple zřejmě donutilo i právě k přemýšlení nad novým typem držáku, který by využití jeho displejů ještě zpříjemnil. S ohledem na tuto skutečnost se tak zřejmě ani nemá příliš smysl zabývat cenou, jelikož se bude běžným smrtelníkům bez vhledu do cen podobného profi příslušenství jevit doslova jako z jiné galaxie. Kdy s novinkou Apple přijde je nicméně v tuto chvíli nejasné a je možné, že to nejasné zůstane i do budoucna. Její distribuce totiž může probíhat v naprosté tichosti “na přímo” koncovým zákazníkům.
- Nově představené Apple produkty můžete zakoupit například na Alze, Mobil Pohotovosti či u iStores