Jablenčá společnost je v mnoha ohledech poměrně vynalézavá, a byť se to někdy nezdá, tak stále poměrně inovativní a překomová. O tom hovoří i nesčetné patenty, kterých se za poslední týdny a měsíce opět vyrojila celá řada. Tím nejzajímavějším je ale pravděpodobně nově popsaný systém, který funguje na bázi rezonance. V podstatě tak nahrazuje tradiční sluchátka a spoléhá na metodu rozkmitání, díky nimž lze vést zvuk přímo pomocí lebečních kostí.
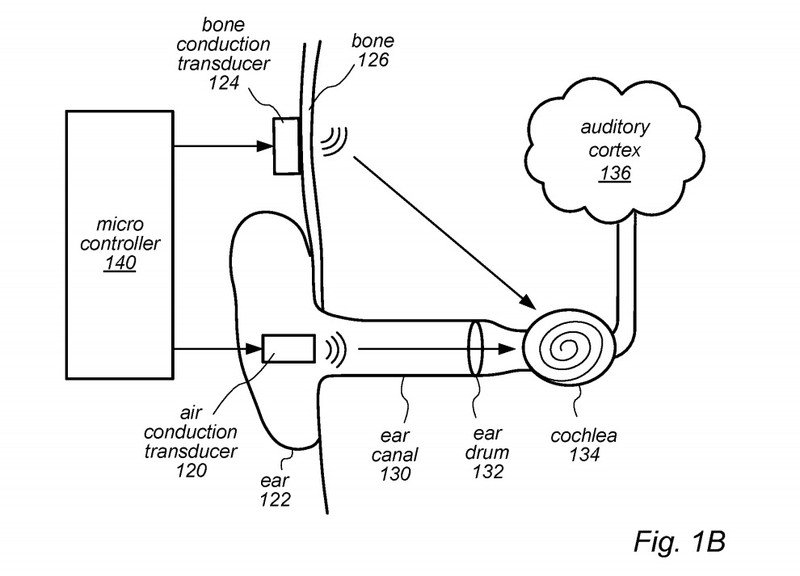
Ačkoliv podobných systémů existuje na dnešním trhu celá řada, většina z nich je stále poměrně netypická a klasická sluchátka převažují. Díky patentu Applu by se ale tato skutečnost mohla rychle změnit, jelikož si společnost posvítila zejména na detaily, jenž dosud v masivním rozšíření bránily. Celý přenos totiž spočívá v tom, že si uživatel na hlavu nasadí jakýsi kontaktní mechanismus, který vysílá nízké frekvence a po rozkmitání je přejímají lebeční kosti, jež dokáží danou frekvenci rozklíčovat a „přeložit“ jako hudbu nebo nějaký zvuk. Výhoda jablečného systému je nicméně v tom, že nestaví výhradně na architektuře rezonance a místo toho využívat i klasický přenos vzduchem, jako jsme zvyklí u standardních sluchátek.
Mohlo by vás zajímat
Signály lze totiž podle Applu rozřadit do tří kategorií, a to nízkofrekvenční, středofrekvenční a vysokofrekvenční. Zatímco v prvních dvou případech lze rezonanci efektivně šířit rozkmitáním kostí, v tom třetím dochází při zvýšení intenzity k potížím, a proto by technologický gigant sáhl spíše po klasickém přenosu. Zároveň by celá konstrukce byla taková, aby jakkoliv neblokovala ucho a nabízela by stejný komfort jako například AirPods. Díky tomu by šlo využít dvou nejrozšířenějších systémů, efektivně je zkombinovat a najít takřka dokonalý kompromis. Uvidíme, zda jednou po tomto patentu Apple sáhne a my se dočkáme konečně lákavého zařízení, které by přenos na bázi rezonance umožňovalo.
Ty jejich patenty slouží jen k blokování nápadů pro případné další technologické firmy. Bohatá firma může patentovat kde jakou blbost a zavřít tím dveře pro případné reálné vynálezy se kterými by mohla přijít jiná společnost (menší, starup). Ne náhodou je Tim Cook a majitel amazonu a facebooku na koberečku v US kongresu, kde se tyhle firmy vc Jablečného moštu zodpovídají za nekale praktiky, zneužití dominantniho postavení v US trhu. Už to i těm kongresmanům dochází co jsou ty firmy zač.
Zapomel jsi na google, ktery je tam skoro kazdy druhy tyden od zalozeni.
Keby radšej premýšľali nad dlhšou výdržou batérie…
ja si pamatuju, ze byly nejake brejle co posilaly zvuk pomoci kosti nebo tak neco :D
A co airpody pro ty, co mají malé uši? A normální se jím tam nevlezou? 🤣
https://niceboy.eu/cs/produkty/hive-bones
A kdyby jen ty…
A to už pár let.
Dejte si oba facku a přečtěte si ještě jednou o čem ten patent je.