Ač takřka všichni technologičtí giganti mluví o skládacích smartphonech jako o novém standardu, který se vám nevyhne a dříve či později ovládne trh, prozatím se jen málokdo pozastavil nad jednou důležitou otázkou. Jak lze efektivně vyřešit problematiku baterií, aniž by byla narušena jejich životaschopnost? Apple naštěstí neváhal a zapojil do práce výzkumníky, kteří dostali za úkol přispěchat s elegantním a co nejméně omezujícím řešením. To tvůrci popisují v nejnovějším patentu, jenž se na chystané ohebné iPhony zaměřuje.
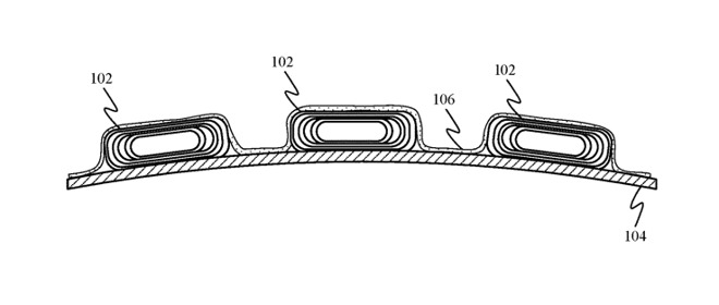
Příchod skládacích telefonů je za rohem a celá řada výrobců přemýšlí, jak se vypořádat s dvěma nejpalčivějšími technickými problémy. Tím prvním je displej, který je v patentech poměrně často omílaný a zmiňovaný. V tomto případě však výzkumníci přišli na celou řadu způsobů, jak pomocí pantů zajistit jednoduchost používání a zároveň co nejmenší trable s opotřebováním. Daleko větší otázkou však byla baterie, která musí být dostatečně velká na to, aby nabídla dostatečnou výdrž telefonu, avšak zároveň se musí dbát na to, aby při skládání nepřekážela. Apple ale naštěstí přišel s inovativním přístupem, který by mohl posloužit jako inspirace ostatním a zároveň nastolit novou éru. Místo jednolitého kusu baterie by se tak využilo více částí, které by byly jistým způsobem propojené. V podstatě by tak byla baterie přítomna na jakémsi ohebném materiálu a rozdělena do několika oddělených oblastí.
Patent se tak kromě samotného využitelného materiálu zaměřuje také na způsob, jakým by mohly být jednotlivé části odděleny tak, aby nedošlo ke ztrátě výkonu. Jednou z možností je využití takzvaných stohovatelných článků, které by bylo možné navrstvit na sebe a místo jednoho kusu je rozprostřít po celé délce tak, aby nepřekážely. Baterie by se tak de facto mohla nacházet po celé ploše displeje a nespočívat pouze na jednom místě. Jak přesně by celý systém fungoval je pochopitelně zatím ve hvězdách, ale rozhodně se jedná o poměrně praktický a využitelný nápad, který by mohl Applu prospět. Nezbývá tedy než doufat, že se jablečná společnost ujme jeho realizace a nezařadí ho po bok dalších potenciálních řešení, které nakonec skončily zapomenuté v šuplíku.
No, shit!
To je proste genialni!
Do horniho a spodniho konce telefonu dam dve baterky a propojim to ohebnym kablikem!
Takhle se zenou kola pokroku!
A jsem si NAPROSTO jisty, ze cinske a korejske copycats zase sproste tento patent ukradnou, stejne jako tomu bylo v pripade patentu na obdelnik s kulatymi rohy.
A je docela dobre mozne, ze ty bestie to maji ukradene uz ted v ohebnych telefonech, co prodavaji.
Hnus.
Říkal jsem si přesně to samé. Musím uznat, že uložit baterii do každé části šasi a mezi sebou propojit, je opravdu geniální inovativní řešení. Zakáže tedy Apple na základě tohoto patentu prodej již existujících konkurenčních zařízení ?
Dost pochybuji, že skládací telefon bude standard. Rozlamovačky taky nebyly. Někdo to ocení , jinej ne.
Těším se na iPhone a hodinky, který budou mít displej i přes hranu zařízení. ( Už je čas )
iMac by byl krásný kdyby byl zahnutý tak jako jsou lidské oči :-)))
Skleněná doteková klávesnice zahnutá dle potřeby:-))))
Furt nic no …
Co ta Sirka , co žvatlá ale česky nic neřekne :-))))
Asi by se měl Apple přestěhovat :-))))) ….. nebo ?
21 století :-)))
Po skladacim telefonu jsem nijak netouzil, ale jako dlouholeteho uzivatele Motoroly potesil novy Razer , u toho bych presel z iOS i na android.
Bohuzel Razer zabiji cena – cca 40tis a hlavne to ze to ma vlastni operacni system…
Ono i novej Samsung Vcko je pekny, ale ceny priserne
Za 5let to uz bude za par, tak se uvidi :-)
Je to hrozná kravina, to nemůžou udělat!