Zavřít reklamu

Apple nepřináší lidem jen kvalitní elektroniku. Tato zařízení jsou dost často také velmi dobrým parťákem pro zdraví a zdravý životní styl. Zřejmě nejlepším zařízením v této kategorii jsou hodinky Apple Watch, které mají například od Series 4 funkci EKG. Různé biometrické senzory by se ale už v brzké době mohly podívat i na jiné jablečné produkty.

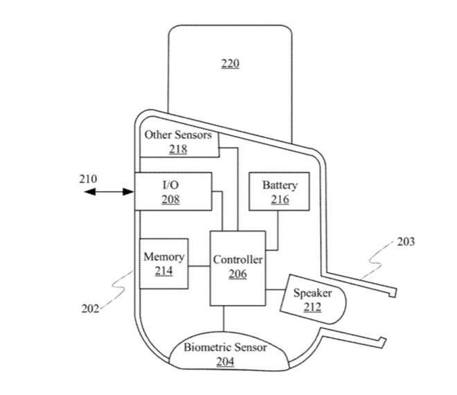
Spoustu z vás jistě nepřekvapí, že máme na mysli nejoblíbenější bezdrátová sluchátka na světě – Apple AirPods. Patentů ohledně zdravotních funkcí a AirPods má technologický gigant skutečně dost. Nyní se objevil další, který pojednává o měření srdečního tepu. Patentová přihláška hovoří o použití fotopletysmogramového (PPG) senzoru. Ten by měřil biometrické parametry za pomoci světla, které by se odráželo od kůže uživatele. Problém je, že v oblasti ucha neexistuje moc pevných kontaktů, aby měření bylo kvalitní. Proto patent hovoří o umístění PPG senzoru až k reproduktoru. S trochou nadsázky můžeme i říct, že díky takovému řešení vám nebude „blikat“ ucho. Na grafickou podobu patentu se můžete podívat v galerii.

Můžeme se zamyslet nad tím, proč by podobné senzory Apple umísťoval do sluchátek. Jednou z možností je ochrana Apple Watch, které jsou při aktivitách nejhojněji využívány. Pokud cvičíte s nářadím, možná jste někdy o kus železa hodinkami zavadili, což je opravdu velmi nepříjemný pocit. Na druhou stranu mně osobně AirPods v uších nesedí tak dobře, abych je nemusel co chvíli poupravovat. Věrohodnosti měření bych tedy nyní velkou váhu nedával. Ve velkém se ale hovoří o příští generaci, které bychom se mohli dočkat již tento rok a která má mít údajně naprosto jiný tvar. Tato sluchátka by mohla držet v uchu o něco lépe a jakýkoliv skepticismus nad zdravotními senzory ve sluchátkách by mohl odpadnout Zároveň ale nevíme, zda bude biometrické měření implementované do AirPods už letos. Já osobně bych spíše přivítal voděodolnost a možná o něco lepší zvuk. Jaký máte názor na použití podobných senzorů ve sluchátkách?

Dnes nejčtenější

.