Zavřít reklamu

Apple se snaží inovovat kde se dá a jeho jablečné hodinky nejsou výjimkou. Zatímco většina patentů z poslední doby se věnovala především Apple Car, rozšířené a virtuální realitě a různorodým platformám, tentokrát se společnost zaměřila právě na Apple Watch, které jsou nejen prodejním hitem, ale také úžasným pomocníkem, ať už v oblasti zdravotnictví nebo zdravého životního stylu. Ač je stávající model odladěný téměř k dokonalosti a nabízí plejádu rozmanitých funkcí, nechce Apple usnout na vavřínech.

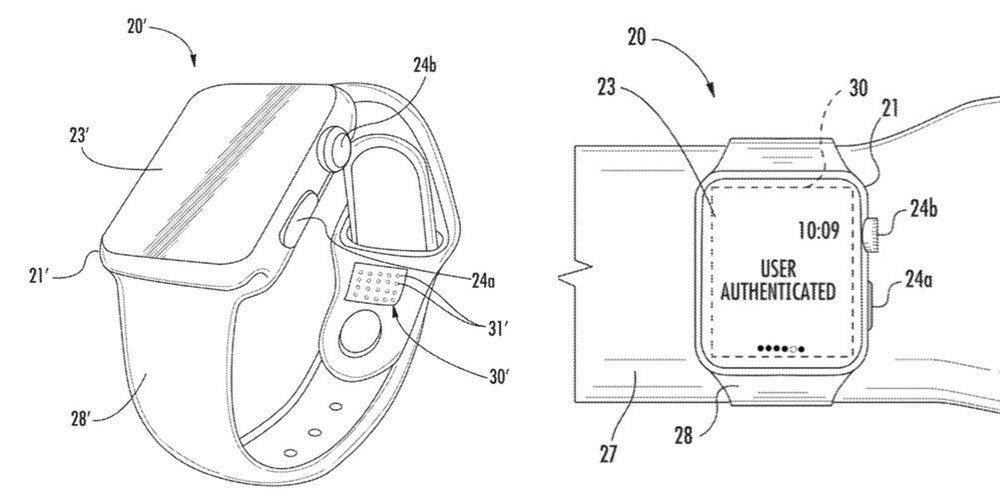
Hlavní otázka budoucí generace je především bezpečnost a soukromí uživatele. Face ID je v tomto případě de facto nepoužitelné a Touch ID by bylo vzhledem k rozměrům zařízení nadmíru nepraktické. Proto se společnost rozhodla do patentu zapracovat řešení pomocí speciálního biometrického senzoru v řemínku, jenž by rozeznával unikátní kožní rysy každého uživatele a na základě rozpoznání pokožky by hodinky podle potřeby odemkl. Nejednalo by se přímo o snímek, nýbrž o vzorek několika různých dat, která by byla vyhodnocována pomocí senzoru připevněného k Apple Watch. Uživatel by tak nemusel jakkoliv s hodinkami interagovat, stačilo by si je zkrátka nasadit. Podobný koncept Apple využil i u druhého patentu, zaměřeného na detekci pohybu a funkce jednotlivých aplikací. Například v případě hubnutí by přímo řemínek ukazoval počet spálených kalorií či počet kroků. To sice umí zařízení již nyní, v tomto případě by ale hodinky nabízely diskrétnější zobrazení pomocí speciálního displeje nebo indikátoru.

Smart Apple Watch bands

Souvisejíci

Nikomu by pravděpodobně příliš nevadilo, kdyby někdo zjistil, že nenaběhal tolik kolik tvrdí, ale problém leží v soukromých informacích, týkajících se například zdravotního stavu. V tomto případě by byly informace o poznání lépe chráněny. Poslední patent se zaměřil na problematiku řemínku hodinek, kterým mnoha uživatelům zkrátka nesedí a lze jen horko těžko upravit. Apple přispěchal s unikátním řešením, jež by sice neobsahovalo elastický materiál, ale spíše motorizovanou součástku, adaptující se na ruku uživatele. Senzor by jednoduše vyhodnotil, kdy jsou hodinky moc volné, nebo naopak příliš těsné. Efektivně by se přizpůsobil například při náročném tréninku, nebo při odpočinkových aktivitách. Nezbývá než čekat, zda se Apple rozhodne převést tyto koncepty do reality. V každém případě se ale jedná o dobré nápady, které by mohly zlepšit celkový zážitek a pohodlí uživatele.

Dnes nejčtenější

.