Na možnost bezdrátově nabíjet sluchátka AirPods, respektive jejich pouzdro, se nejeden z nás těší prakticky od chvíle, kdy Apple světu takto upravenou verzi pouzdra ukázal. Bohužel, stejně jako tomu je u AirPower, ani tento produkt stále na pultech obchodů není a o jeho příchodu Apple mlčí. Valná většina analytiků je však přesvědčena, že dorazí již na konci března, jelikož právě na tento termín by podle nich měl mít Apple naplánovanou první letošní keynote. Jak ale vlastně bude novinka fungovat?
Mohlo by vás zajímat
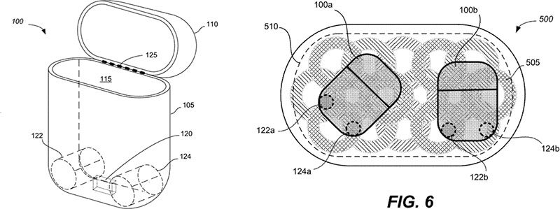
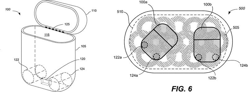
Americký patentový úřad zveřejnil před pár dny poměrně zajímavý patent, který řešení Applu poodhaluje. Podle nákresu to vypadá, že se kalifornský gigant nespoléhá jen na jednu, ale hned na dvě malé cívky, které budou umístěné ve spodní části pouzdra. Dvojice cívek by měla perfektně zajistit příjem energie a to bez ohledu na to, v jaké pozici pouzdro s AirPody bude – tedy minimálně v případě nabíječky AirPower. Ta je totiž dle nákresu doslova protkána spoustou menších cívek, které se vzájemně překrývají a zajišťují dostatečně výkonné bezdrátové nabíjení po celé ploše nabíječky, díky čemuž by neměl být problém nabíjet tři zařízení současně.
S ohledem na nákres patentu se ale nabízí otázka, zda Apple nové pouzdro pro AirPods nevytvořil tak, aby jej bylo možné nabíjet jen přes AirPower, Toto řešení je však dle nás poměrně nepravděpodobné, jelikož by znamenalo pro uživatele obrovské omezení, které by mohlo zapříčinit i nezájem o jeho koupi. Mnohem pravděpodobnější se tak zdá spíše to, že sluchátka v tomto pouzdře nabijete bez problému i na standardní Qi nabíječce, avšak budete si u ní muset hlídat na rozdíl od AirPower jejich polohu.
Nové bezdrátové pouzdro pro AirPods:
A jak se na podobné vylepšení nabíjecího pouzdra díváte vy? Oceníte jej, nebo vám naopak přijde tento upgrade jako zcela zbytečný a nabíjení AirPods přes Lightning vám jednou za čas nevadí?
Kdyby šlo AirPods nabíjet přes iPhone pomocí zad, byla by to pecka
Však je to fuk… Pouzdro dobíjím max 1x týdne a je to rychlé…