Zavřít reklamu

Trh s příslušenstvím pro jablečné produkty je vskutku rozmanitý. To platí zvláště u Apple Watch, které mnohdy slouží také jako módní doplněk. Rozmanitost pásků a řemínků dovoluje nosit Apple Watch snad ke všem možným příležitostem. A jak se zdá, v budoucnu bude situace ještě lepší.

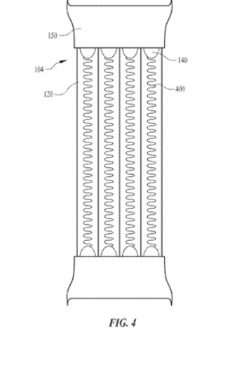
Patent Applu, který byl zveřejněn tento týden, se nazývá „Světelná křižovatka“. Základem této patentové přihlášky je popis použití světelných trubic na pásku k Apple Watch. Celý trik je v použití čiré trubice, ve které bude po celé délce umístěno světelné vlákno. Na každém konci vlákna bude pak umístěna LED dioda, která vláknu dodá potřebnou barvu.

Samotný patent má více variant. Další návrh počítá s trubkou, ve které bude více LED diod a světelné vlákno bude mít šroubovitý tvar. Světelný efekt by tak mohl být jasnější. Jednoduše řečeno byste mohli mít jeden pásek, u kterého by bylo možné měnit barvu podle nálady nebo třeba outfitu. Tuto technologii by rovněž mohli využít běžci a cyklisti v horších světelných podmínkách. Je ale třeba mít na pamětí, že Apple registruje spoustu patentů, které nikdy neuvede v život.

Grafické znázornění patentu:

Patenty se kolem Apple Watch jenom hemží. Nedávno jsme v souvislosti s řemínkem viděli patentovou přihlášku, která naznačovala, že by v budoucnu mohly Apple Watch disponovat i fotoaparátem. Jiný patent hovoří o LED diodách umístěných v řemínku, které by fungovaly jako notifikační diody a uživatel by si mohl nastavit, na které informace by chtěl být touto cestou upozorňován.

apple watch fb

Dnes nejčtenější

.